首页
专利数据库
产业人才
行业动态
产业政策法规
维权援助
个人中心
登录/注册
详情
文本
图像
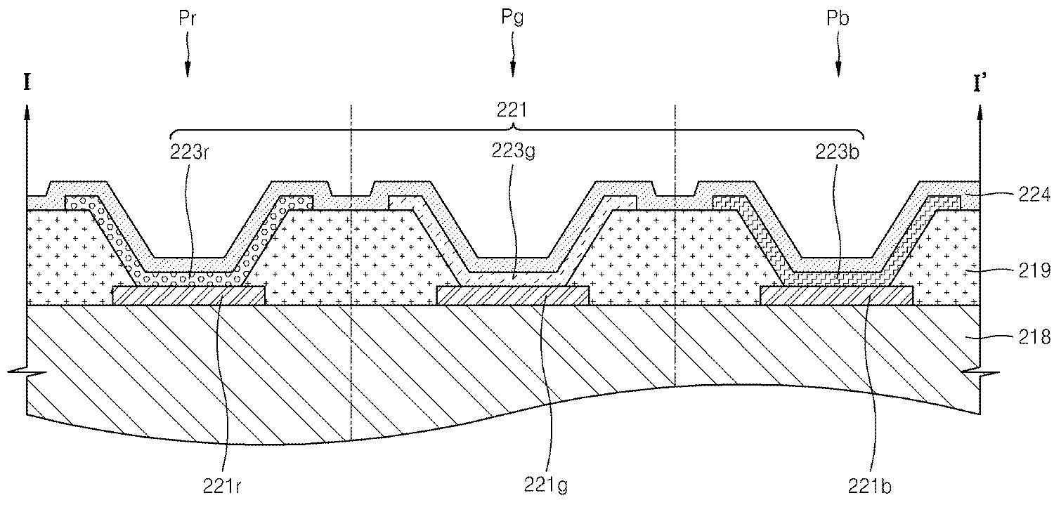
标题:
발명의 명칭 유기발광표시장치
授权日:
1900-01-01
公开(公告)号:
KR1020120079318A
申请日:
2011-01-04
公开(公告)日:
2012-07-12
当前申请(专利权)人:
삼성디스플레이 주식회사
发明人:
홍상민
简单同族:
KR101685019B1 | KR1020120079318A | US20120169683A1 | US8692817
简单同族成员数量:
4
简单同族被引用专利总数:
55
诉讼案件数:
0
法律状态/事件:
授权