首页
专利数据库
产业人才
行业动态
产业政策法规
维权援助
个人中心
登录/注册
详情
文本
图像
标题:
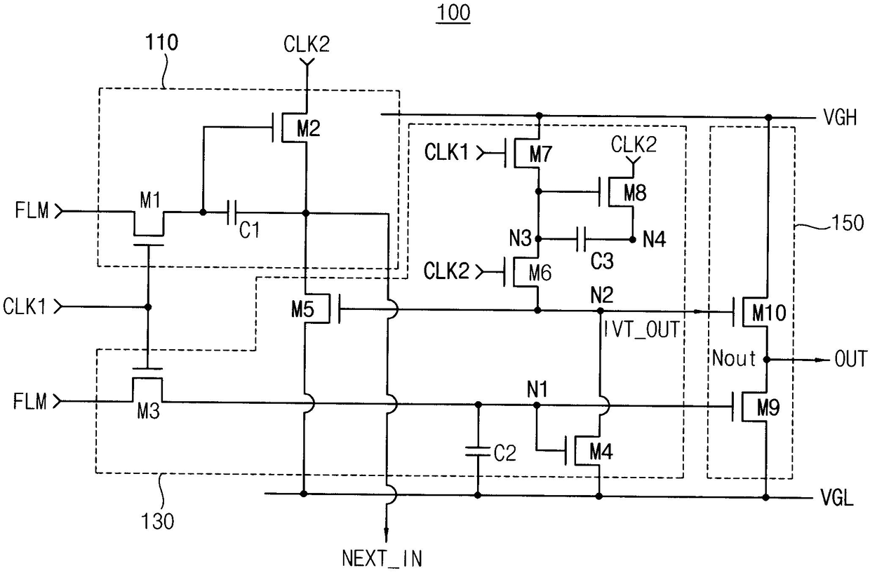
에미션 구동 유닛, 에미션 구동부 및 이를 포함하는 유기 발광 표시 장치
授权日:
1900-01-01
公开(公告)号:
KR1020130099588A
申请日:
2012-02-29
公开(公告)日:
2013-09-06
当前申请(专利权)人:
삼성디스플레이 주식회사
发明人:
정진태
简单同族:
CN103295522A | CN103295522B | EP2634766A1 | EP2634766B1 | KR101881853B1 | KR1020130099588A | TW201335913A | TWI571851B | US20130222352A1 | US9324270
简单同族成员数量:
10
简单同族被引用专利总数:
57
诉讼案件数:
0
法律状态/事件:
授权