首页
专利数据库
产业人才
行业动态
产业政策法规
维权援助
个人中心
登录/注册
详情
文本
图像
标题:
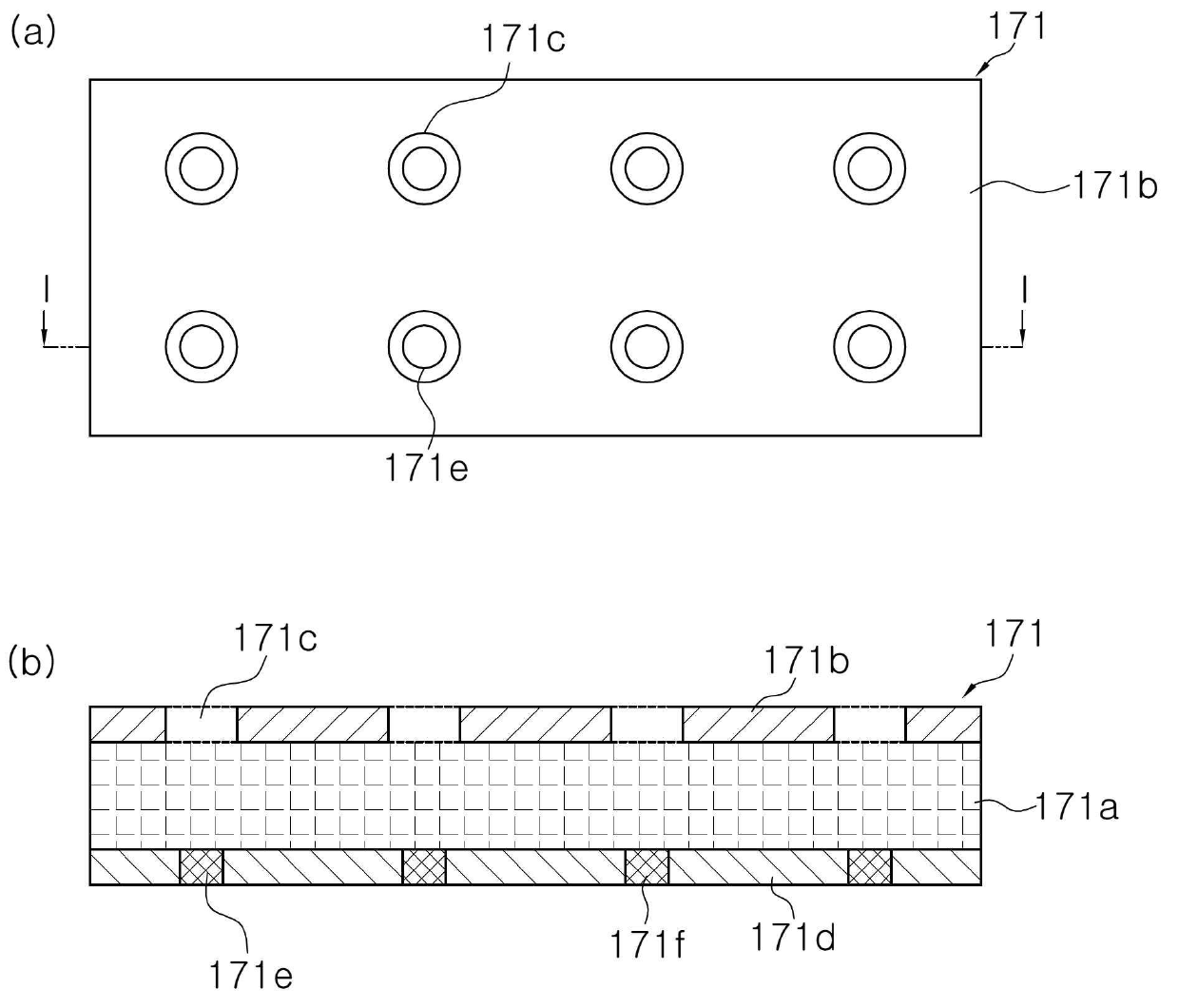
유기발광 다이오드 패널의 봉지층 형성용 필름, 이 필름을 갖는 유기발광 다이오드 패널 및 그 제조방법
授权日:
1900-01-01
公开(公告)号:
KR1020190114383A
申请日:
2018-03-30
公开(公告)日:
2019-10-10
当前申请(专利权)人:
코오롱인더스트리 주식회사
发明人:
경충현 | 허임산 | 김태수
简单同族:
KR1020190114383A
简单同族成员数量:
1
简单同族被引用专利总数:
0
诉讼案件数:
0
法律状态/事件:
实质审查