首页
专利数据库
产业人才
行业动态
产业政策法规
维权援助
个人中心
登录/注册
详情
文本
图像
标题:
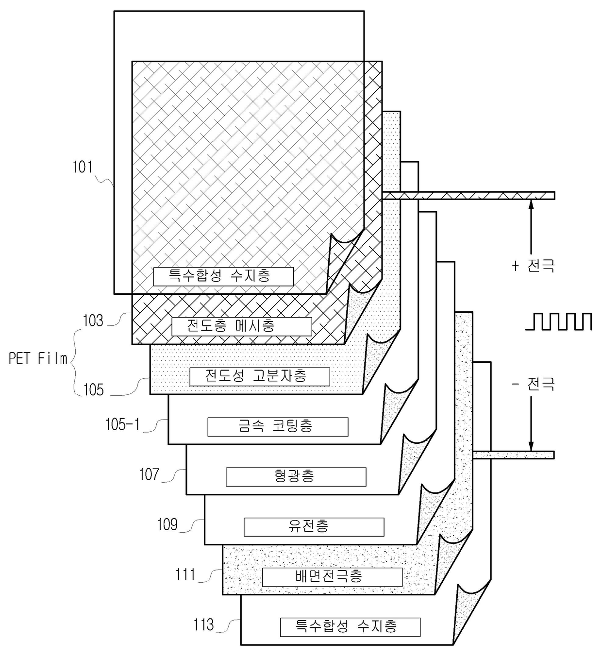
평면형 2중 적층구조를 가진 고분자 유기발광 필름
授权日:
2008-11-28
公开(公告)号:
KR100872167B1
申请日:
2007-08-28
公开(公告)日:
2008-12-09
当前申请(专利权)人:
(주)알지비테크놀러지
发明人:
조성복 | 피완수
简单同族:
KR100872167B1
简单同族成员数量:
1
简单同族被引用专利总数:
0
诉讼案件数:
0
法律状态/事件:
授权 | 权利转移