标题:
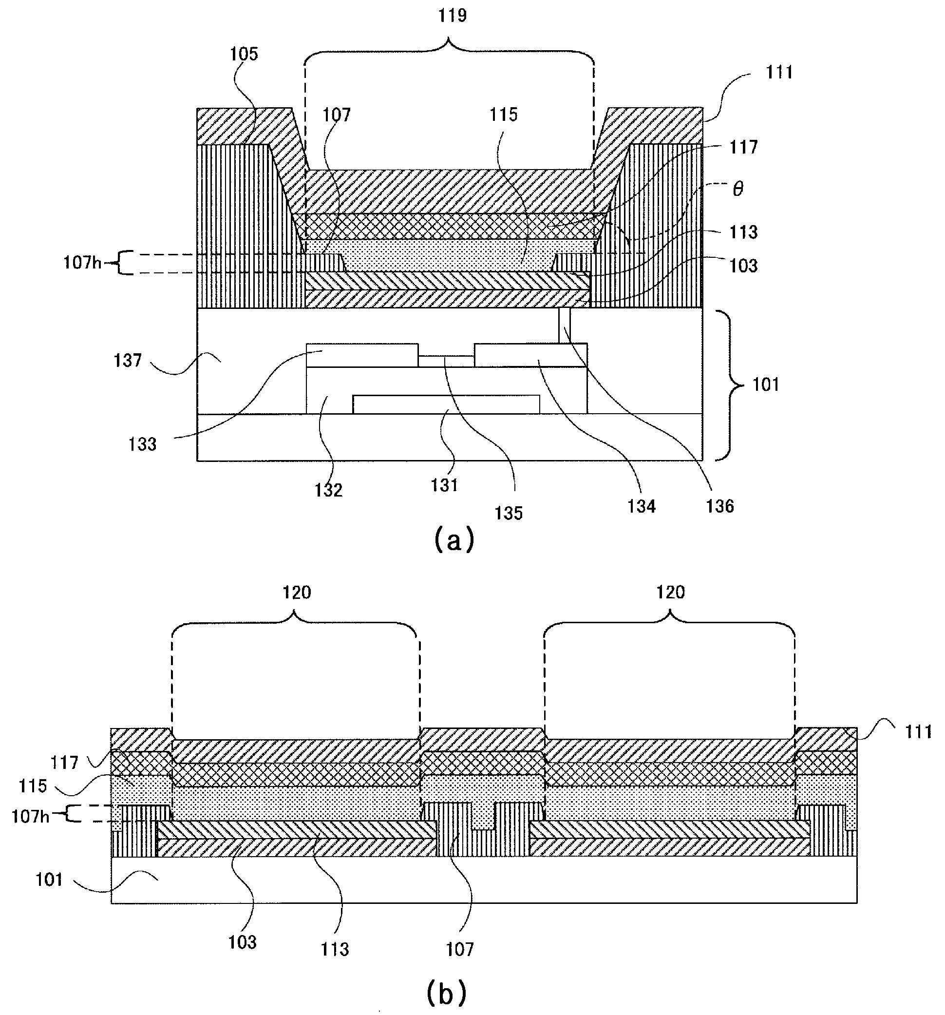
유기 EL 디스플레이 패널 및 그 제조 방법
授权日:
1900-01-01
公开(公告)号:
KR1020100027150A
申请日:
2009-06-02
公开(公告)日:
2010-03-10
当前申请(专利权)人:
파나소닉 주식회사
发明人:
나카타니,슈헤이 | 요시다,히데히로 | 타카기,키요히코
简单同族:
CN101689559A | CN101689559B | EP2242334A1 | EP2242334A4 | EP2242334B1 | JP4495781B2 | JPWO2009147838A1 | KR100984574B1 | KR1020100027150A | US20100181559A1 | US7842947 | WO2009147838A1
简单同族成员数量:
12
简单同族被引用专利总数:
128
诉讼案件数:
0
法律状态/事件:
未缴年费 | 权利转移