首页
专利数据库
产业人才
行业动态
产业政策法规
维权援助
个人中心
登录/注册
详情
文本
图像
标题:
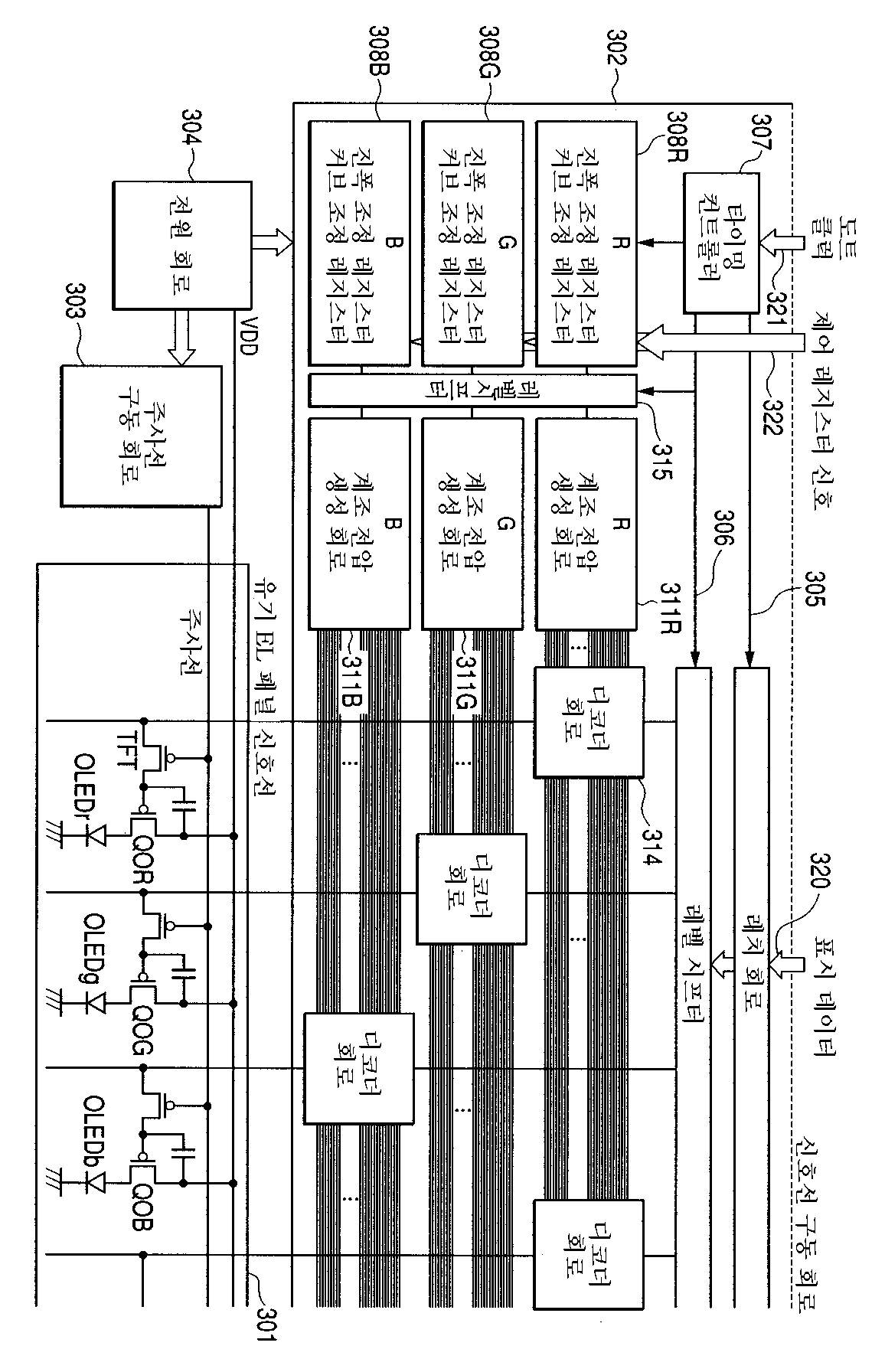
자발광 표시용 구동 회로
授权日:
2006-03-10
公开(公告)号:
KR100561979B1
申请日:
2004-05-28
公开(公告)日:
2006-03-21
当前申请(专利权)人:
가부시끼가이샤 르네사스 테크놀로지
发明人:
아까이아끼히또 | 구도야스유기 | 오까도가즈오
简单同族:
CN100380425C | CN1573868A | JP2004354625A | KR100561979B1 | KR1020040103782A | TW200426744A | TWI254893B | US20050007393A1 | US7486303
简单同族成员数量:
9
简单同族被引用专利总数:
112
诉讼案件数:
0
法律状态/事件:
授权 | 权利转移