标题:
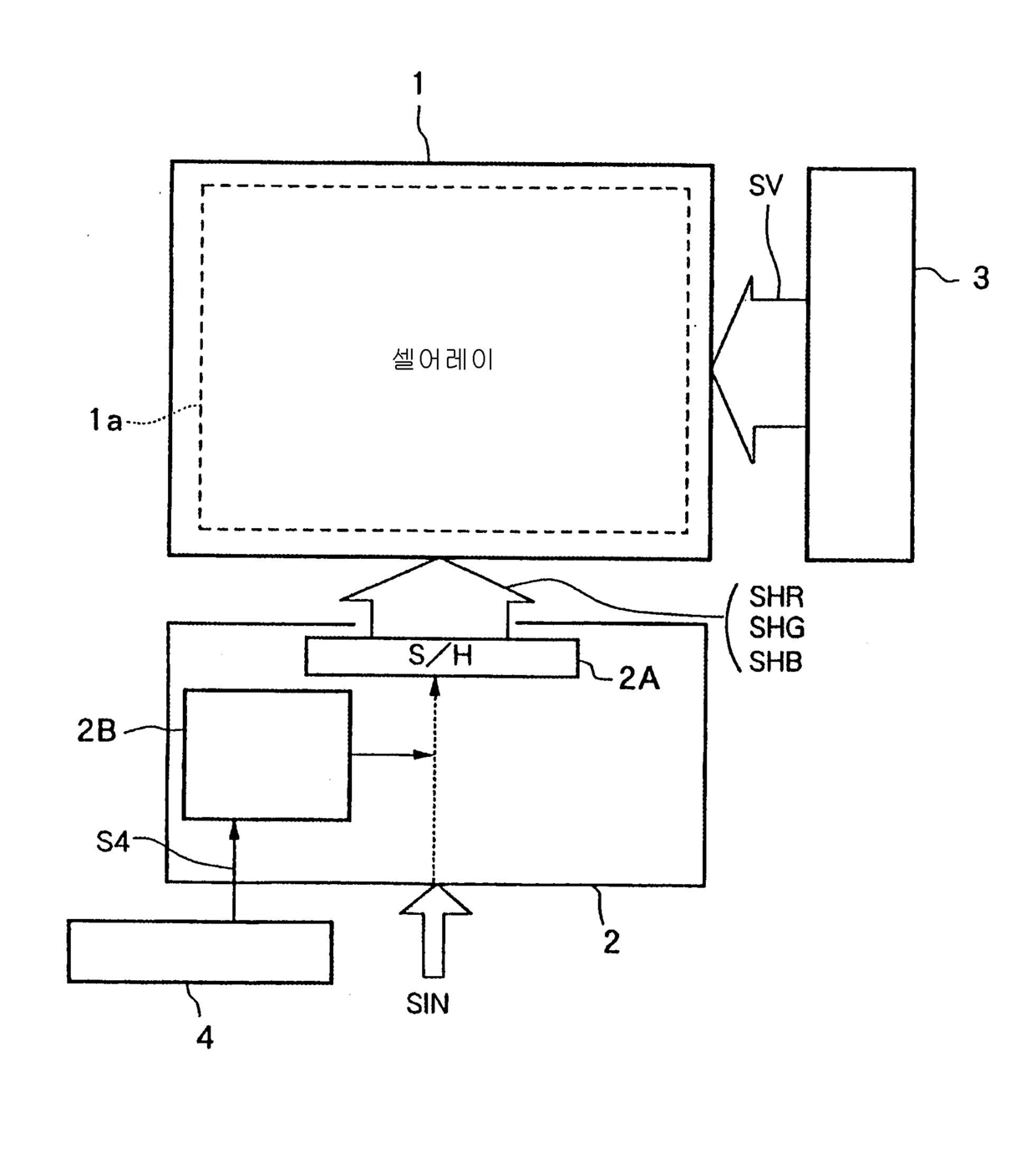
화상 표시장치 및 그 색밸런스 조정방법
授权日:
2010-05-11
公开(公告)号:
KR100958706B1
申请日:
2003-10-24
公开(公告)日:
2010-05-19
当前申请(专利权)人:
소니 주식회사
发明人:
다무라미츠야스 | 하세가와히로시
简单同族:
CN100594531C | CN1692396A | EP1469449A1 | EP1469449A4 | JP2004151501A | JP4423848B2 | KR100958706B1 | KR100994824B1 | KR100994826B1 | KR1020050056163A | KR1020100029856A | KR1020100029857A | TW200414123A | TWI260577B | US20050062691A1 | US7893892 | WO2004040542A1
简单同族成员数量:
17
简单同族被引用专利总数:
111
诉讼案件数:
0
法律状态/事件:
授权 | 权利转移