首页
专利数据库
产业人才
行业动态
产业政策法规
维权援助
个人中心
登录/注册
详情
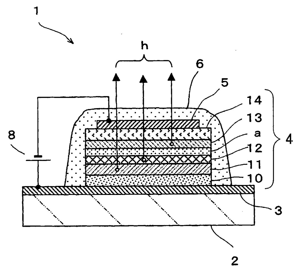
文本
图像
标题:
유기 EL 소자 및 표시장치
授权日:
2012-01-13
公开(公告)号:
KR101108215B1
申请日:
2004-08-20
公开(公告)日:
2012-01-31
当前申请(专利权)人:
소니 가부시키가이샤
发明人:
KASHIWABARA, MITSUHIRO
简单同族:
EP1667494A1 | EP1667494A4 | JP2005100921A | JP2005100921A5 | KR101108215B1 | KR1020060071399A | TW200515831A | TWI290441B | US20060227079A1 | US8067885 | WO2005027586A1 | WO2005027586B1
简单同族成员数量:
12
简单同族被引用专利总数:
271
诉讼案件数:
0
法律状态/事件:
授权 | 权利转移