首页
专利数据库
产业人才
行业动态
产业政策法规
维权援助
个人中心
登录/注册
详情
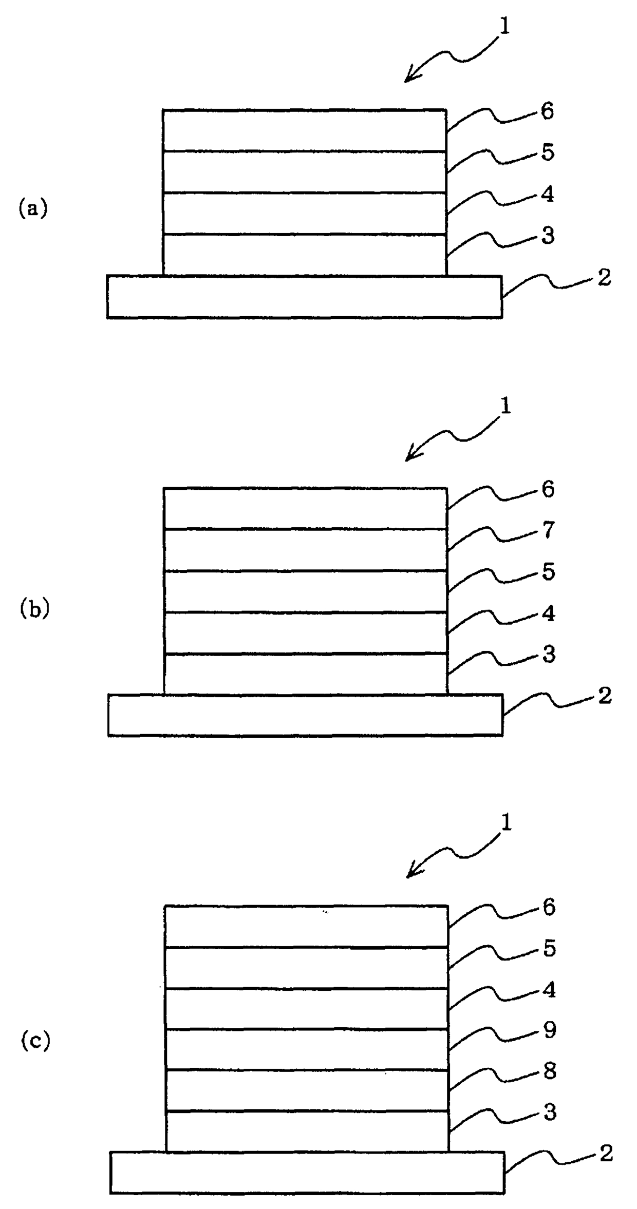
文本
图像
标题:
유기 전계 발광 소자 및 유기 전계 발광 표시 장치
授权日:
1900-01-01
公开(公告)号:
KR1020060135801A
申请日:
2005-01-24
公开(公告)日:
2006-12-29
当前申请(专利权)人:
이데미쓰 고산 가부시키가이샤
发明人:
카와무라,히사유끼 | 준케,타다노리 | 후쿠오카,케니치
简单同族:
EP1722602A1 | KR1020060135801A | TW200531589A | US20070170843A1 | WO2005086538A1
简单同族成员数量:
5
简单同族被引用专利总数:
256
诉讼案件数:
0
法律状态/事件:
撤回