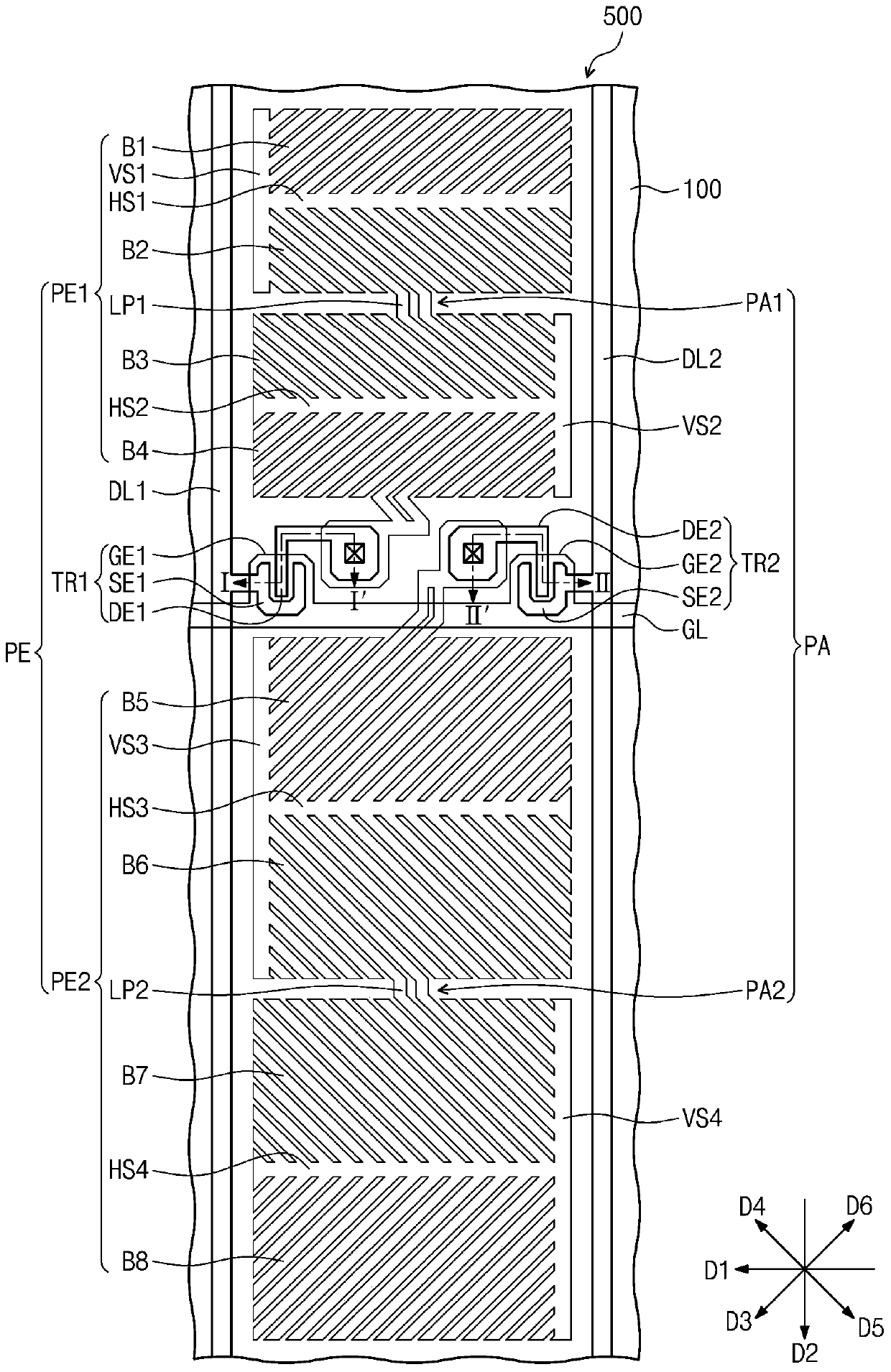
标题:
液晶显示器
授权日:
2019-12-17
公开(公告)号:
CN104345500B
申请日:
2014-07-30
公开(公告)日:
2019-12-17
当前申请(专利权)人:
三星显示有限公司
发明人:
任完淳 | 朴旻昱 | 禹修完 | 朴殷吉 | 孙正万 | 太昌一 | 朴基凡 | 金璟陪 | 朴帝亨 | 朴柱焕 | 徐裕悳 | 梁承浩 | 吴世埈 | 李熙焕
简单同族:
CN104345500A | CN104345500B | CN110850645A | CN110850646A | CN110941121A | EP2833200A1 | EP2833200B1 | JP2015031961A | JP6448245B2 | US10712596 | US20150036073A1
简单同族成员数量:
11
简单同族被引用专利总数:
122
诉讼案件数:
0
法律状态/事件:
授权