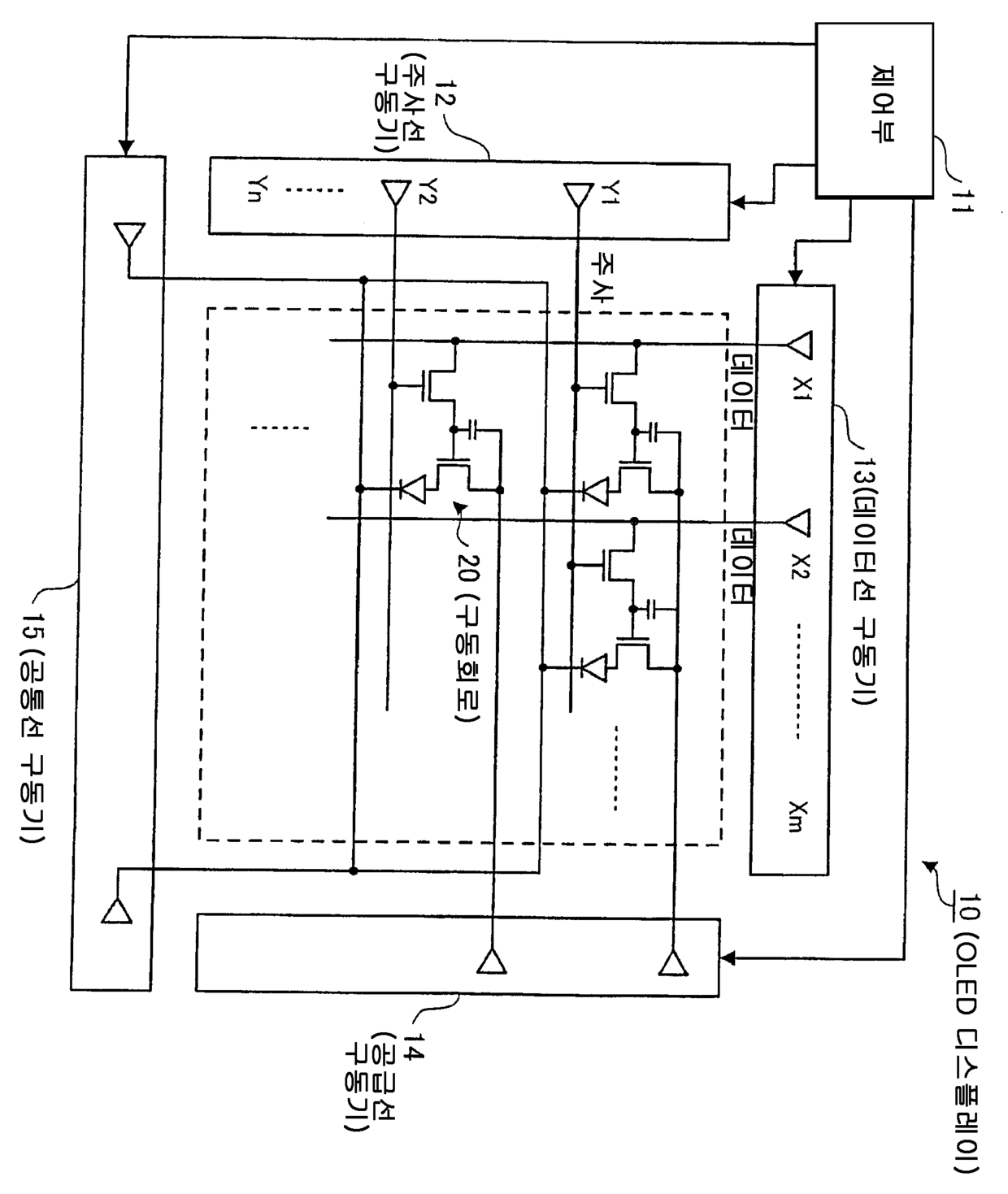
标题:
디스플레이 장치, OLED 패널, 박막 트랜지스터의 제어장치, 박막 트랜지스터의 제어 방법 및 O
授权日:
2005-10-28
公开(公告)号:
KR100526267B1
申请日:
2003-03-24
公开(公告)日:
2005-11-08
当前申请(专利权)人:
탑폴리 옵토일렉트로닉스 코포레이션
发明人:
츠지무라다카토시 | 미와고히치 | 모로오카미츠오
简单同族:
CN1261917C | CN1448900A | JP2003302936A | KR100526267B1 | KR1020030078668A | TW200306509A | TW584824B | US20040001037A1 | US7091940
简单同族成员数量:
9
简单同族被引用专利总数:
55
诉讼案件数:
0
法律状态/事件:
未缴年费