标题:
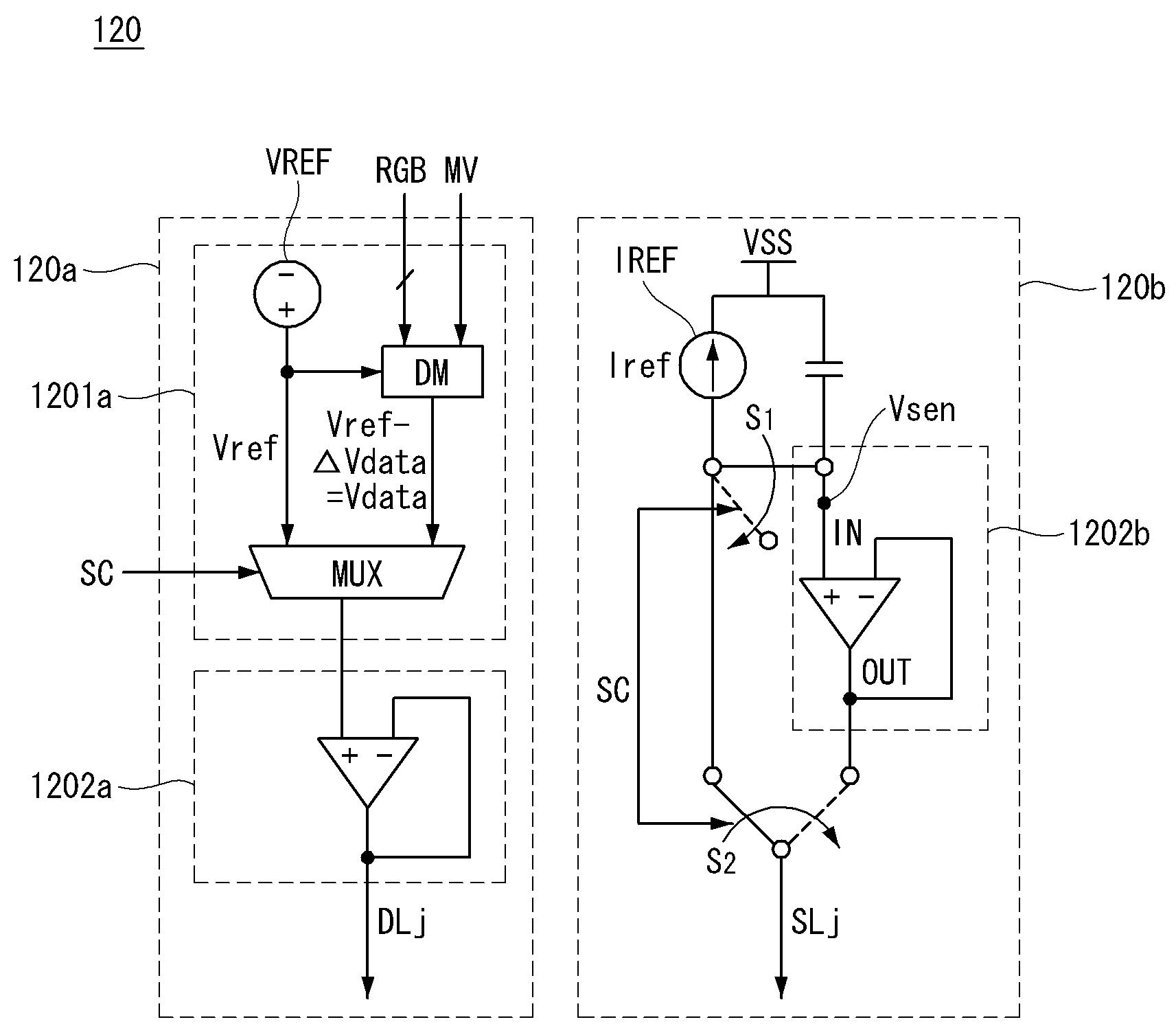
유기발광다이오드 표시장치와 그 구동방법
授权日:
1900-01-01
公开(公告)号:
KR1020090090933A
申请日:
2008-02-22
公开(公告)日:
2009-08-26
当前申请(专利权)人:
엘지디스플레이 주식회사
发明人:
NAM, WOO JIN
简单同族:
CN101515434A | CN101515434B | EP2093749A2 | EP2093749A3 | EP2093749B1 | ES2556650T3 | JP2009199057A | JP5483860B2 | KR100939211B1 | KR1020090090933A | PL2093749T3 | US20090213046A1 | US20120327065A1 | US8305303 | US8531361
简单同族成员数量:
15
简单同族被引用专利总数:
245
诉讼案件数:
0
法律状态/事件:
授权