首页
专利数据库
产业人才
行业动态
产业政策法规
维权援助
个人中心
登录/注册
详情
文本
图像
标题:
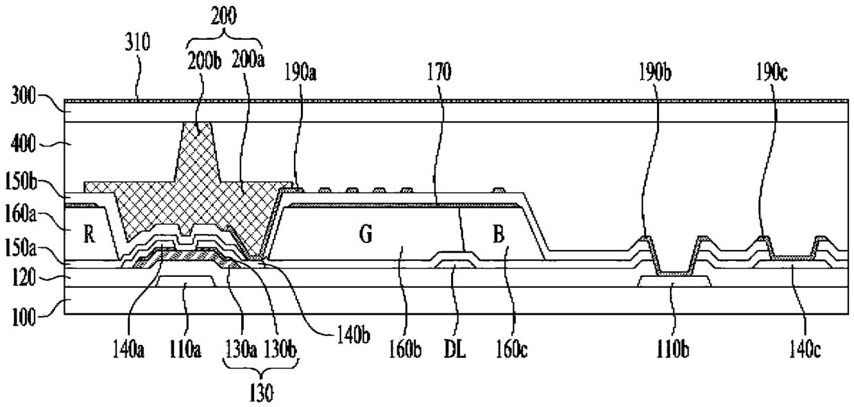
液晶显示器件及其制造方法
授权日:
2016-07-27
公开(公告)号:
CN103293802B
申请日:
2012-12-24
公开(公告)日:
2016-07-27
当前申请(专利权)人:
乐金显示有限公司
发明人:
金镇泰 | 南明祐 | 辛承穆 | 崔秀贞
简单同族:
CN103293802A | CN103293802B | KR101611923B1 | KR1020130097879A | US20130222723A1 | US8976328
简单同族成员数量:
6
简单同族被引用专利总数:
50
诉讼案件数:
0
法律状态/事件:
授权