标题:
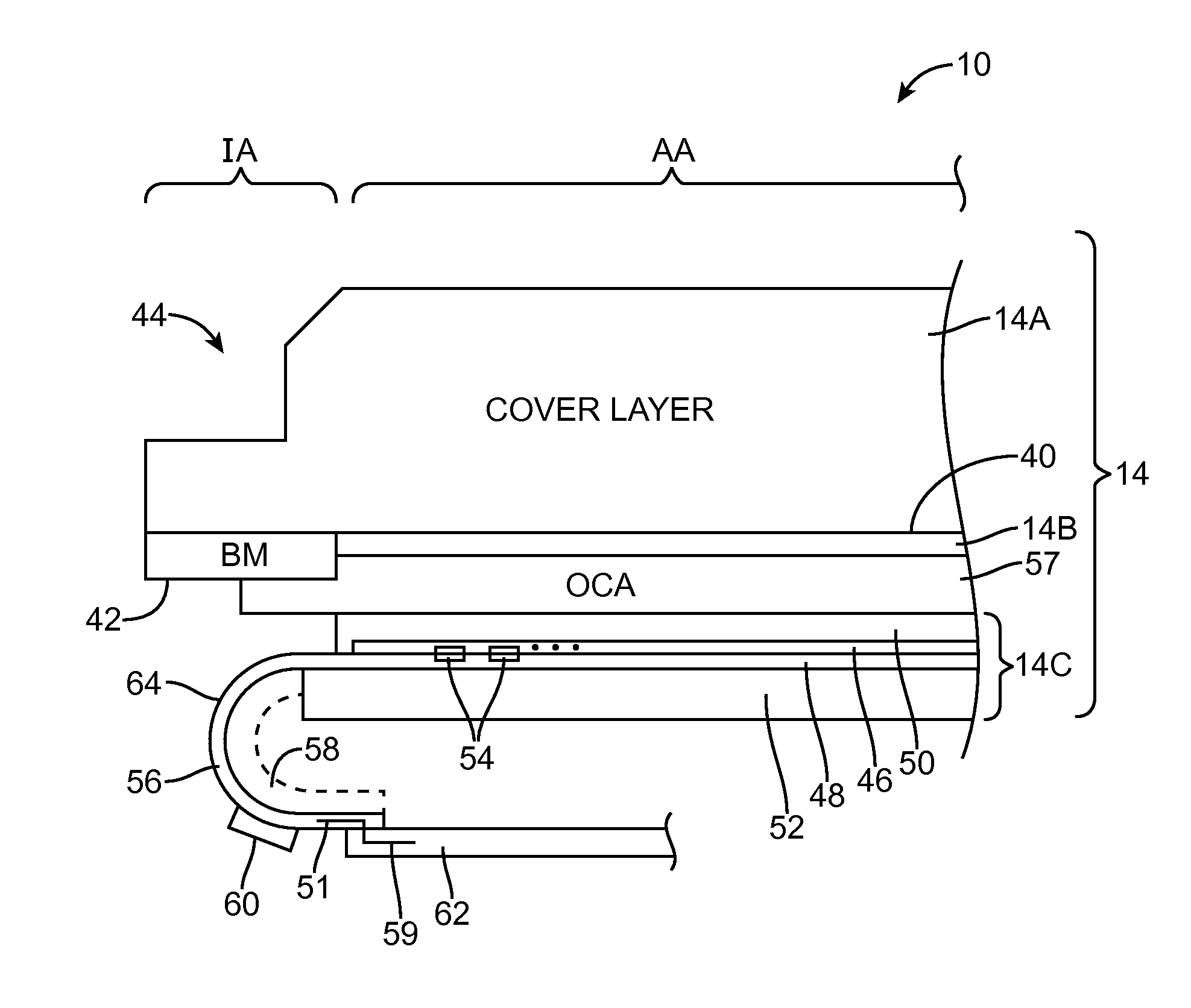
Flexible Displays
授权日:
1900-01-01
公开(公告)号:
US20140042406A1
申请日:
2013-07-01
公开(公告)日:
2014-02-13
当前申请(专利权)人:
APPLE INC.
发明人:
DEGNER, BRETT W. | CHEN, CHIEH-WEI | MATHEW, DINESH C. | DRZAIC, PAUL S. | KIM, SANG HA | GRESPAN, SILVIO | ZHONG, JOHN Z. | GUILLOU, JEAN-PIERRE | SUNG, KUO-HUA | PARK, YOUNG BAE | GUPTA, VASUDHA
简单同族:
CN104521331A | CN104521331B | DE112013003937T5 | KR101976913B1 | KR1020150036443A | KR1020160150640A | TW201417267A | TWI599032B | US20140042406A1 | US9419065 | WO2014025534A1
简单同族成员数量:
11
简单同族被引用专利总数:
288
诉讼案件数:
0
法律状态/事件:
授权 | 权利转移