首页
专利数据库
产业人才
行业动态
产业政策法规
维权援助
个人中心
登录/注册
详情
文本
图像
标题:
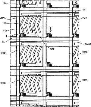
液晶显示器件及其驱动方法
授权日:
1900-01-01
公开(公告)号:
CN1991461A
申请日:
2006-12-13
公开(公告)日:
2007-07-04
当前申请(专利权)人:
乐金显示有限公司
发明人:
张亨锡 | 朴浚圭 | 陈贤硕
简单同族:
CN100495136C | CN1991461A | JP2007183609A | JP4638862B2 | KR1020070070721A | US20070153196A1 | US20100141569A1 | US7692750 | US8289490
简单同族成员数量:
9
简单同族被引用专利总数:
85
诉讼案件数:
0
法律状态/事件:
授权