标题:
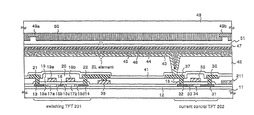
EL display device and method for manufacturing the same
授权日:
2017-08-15
公开(公告)号:
US9735218
申请日:
2016-08-26
公开(公告)日:
2017-08-15
当前申请(专利权)人:
SEMICONDUCTOR ENERGY LABORATORY CO., LTD.
发明人:
YAMAZAKI, SHUNPEI | MIZUKAMI, MAYUMI | KONUMA, TOSHIMITSU
简单同族:
CN100383983C | CN101266996A | CN101266996B | CN1289151A | DE60045361D1 | EP1085576A2 | EP1085576A3 | EP1085576B1 | EP2259322A2 | EP2259322A3 | EP2259322B1 | JP2011071141A | JP2011071141A5 | JP2013020981A | JP2013020981A5 | JP2014239252A | JP2016066617A | JP2017098255A | JP2018156952A | JP5683047B2 | JP6571630B2 | KR100746657B1 | KR100788873B1 | KR1020010067183A | KR1020050096892A | TW516244B | TW522453B | US20020190257A1 | US20050162092A1 | US20090267076A1 | US20110227088A1 | US20120286283A1 | US20130313558A1 | US20140252361A1 | US20150357389A1 | US20160365400A1 | US6445005 | US6894312 | US7518146 | US7952103 | US8183571 | US8450745 | US8735900 | US9059049 | US9431470 | US9735218
简单同族成员数量:
46
简单同族被引用专利总数:
482
诉讼案件数:
0
法律状态/事件:
授权