首页
专利数据库
产业人才
行业动态
产业政策法规
维权援助
个人中心
登录/注册
详情
文本
图像
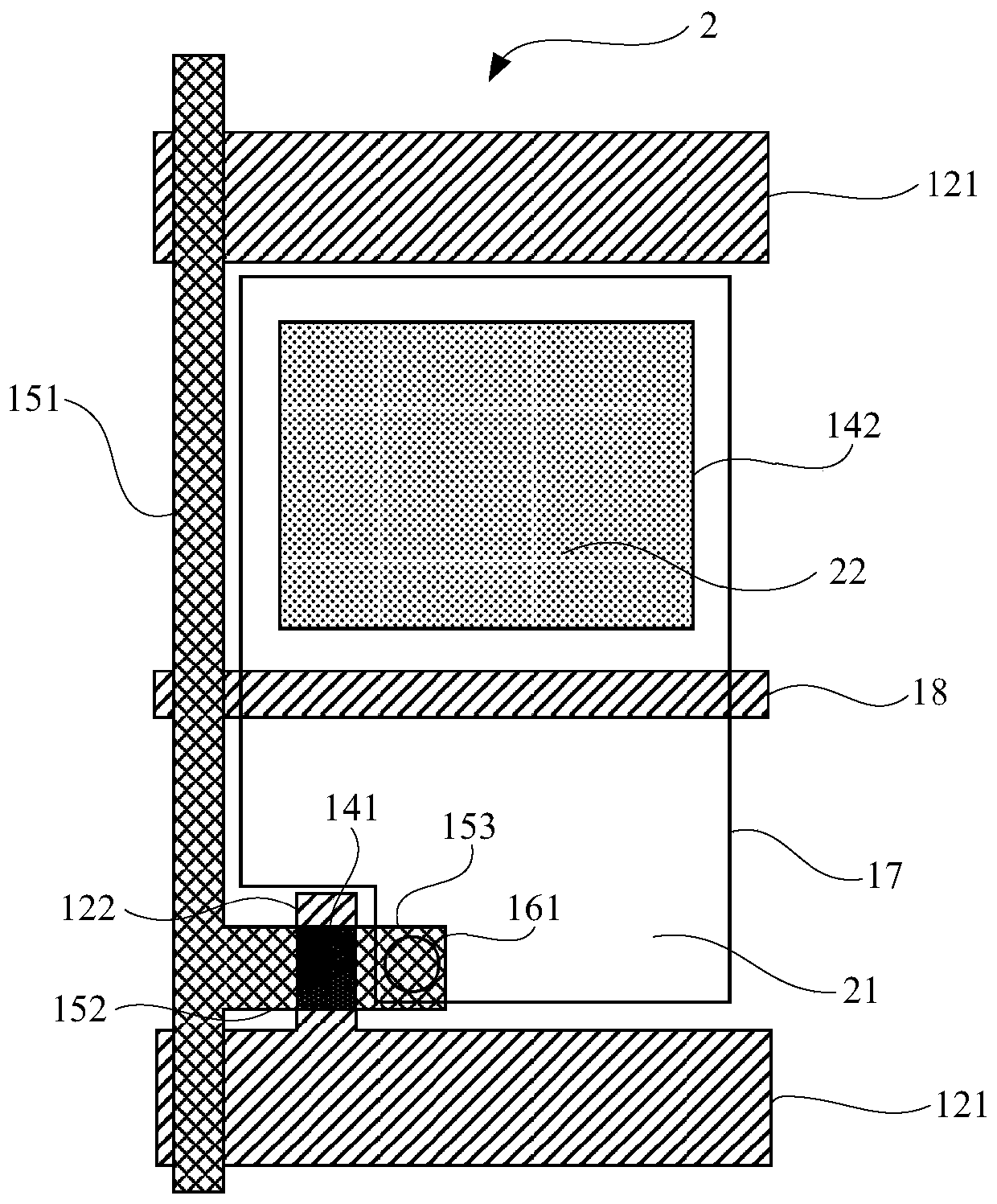
标题:
阵列基板及液晶面板
授权日:
1900-01-01
公开(公告)号:
CN110928094A
申请日:
2019-12-31
公开(公告)日:
2020-03-27
当前申请(专利权)人:
成都中电熊猫显示科技有限公司
发明人:
李智炜 | 薛彦鹏 | 陈盈惠 | 殷桂华 | 胡珂 | 罗艳梅 | 刘翔 | 储周硕 | 李广圣 | 孙学军
简单同族:
CN110928094A
简单同族成员数量:
1
简单同族被引用专利总数:
0
诉讼案件数:
0
法律状态/事件:
实质审查