标题:
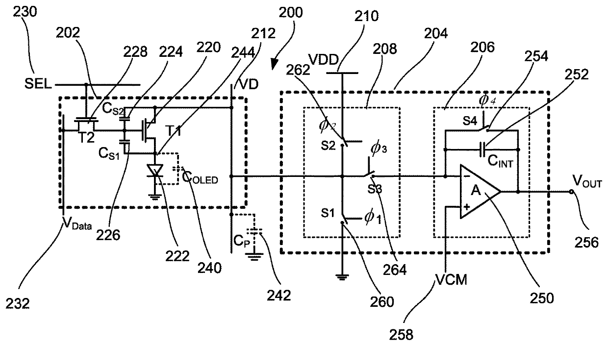
System and methods for extraction of threshold and mobility parameters in AMOLED displays
授权日:
2020-03-03
公开(公告)号:
US10580337
申请日:
2018-10-31
公开(公告)日:
2020-03-03
当前申请(专利权)人:
IGNIS INNOVATION INC.
发明人:
CHAJI, GHOLAMREZA | AZIZI, YASER
简单同族:
CN103562988A | CN103562988B | EP2710579A1 | EP2710579A4 | JP2014522503A | US10127846 | US10580337 | US20120293478A1 | US20130307834A1 | US20150213744A1 | US20160253937A1 | US20170140687A1 | US20180005559A1 | US20190066557A1 | US8576217 | US9093029 | US9355584 | US9589490 | US9799248 | WO2012160471A1
简单同族成员数量:
20
简单同族被引用专利总数:
133
诉讼案件数:
0
法律状态/事件:
授权 | 权利转移