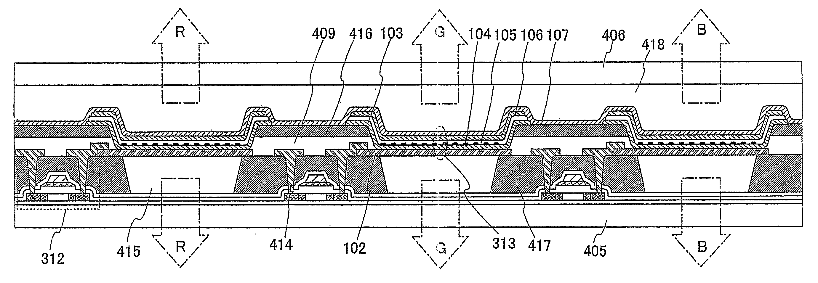
标题:
Light-Emitting Element and Display Device
授权日:
1900-01-01
公开(公告)号:
US20120061653A1
申请日:
2011-09-12
公开(公告)日:
2012-03-15
当前申请(专利权)人:
SEMICONDUCTOR ENERGY LABORATORY CO., LTD.
发明人:
YAMAZAKI, SHUNPEI | NOMURA, RYOJI | SEO, SATOSHI | ABE, HIROKO | NAKAMURA, YASUO
简单同族:
JP2011014548A | JP2012160471A | JP2013152949A | JP2013152949A5 | JP5005081B2 | JP5564599B2 | KR101161722B1 | KR101252026B1 | KR1020070026582A | KR1020110124331A | US20070222379A1 | US20120061653A1 | US20130126936A1 | US8018152 | US8339039 | US8643270 | WO2005115062A1
简单同族成员数量:
17
简单同族被引用专利总数:
59
诉讼案件数:
0
法律状态/事件:
授权