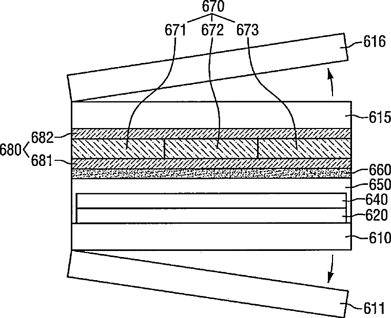
标题:
Flexible organic light-emitting display device and method for manufacturing the same
授权日:
1900-01-01
公开(公告)号:
US20140183478A1
申请日:
2013-12-10
公开(公告)日:
2014-07-03
当前申请(专利权)人:
LG DISPLAY CO., LTD.
发明人:
LEE, MIJUNG | PARK, JONGHYUN | YOON, SOOYOUNG
简单同族:
CN104885142A | CN104885142B | EP2939230A1 | EP2939230A4 | KR1020140085306A | US20140183478A1 | US20160099428A1 | US9236420 | US9761816 | WO2014104709A1
简单同族成员数量:
10
简单同族被引用专利总数:
71
诉讼案件数:
0
法律状态/事件:
授权 | 权利转移