首页
专利数据库
产业人才
行业动态
产业政策法规
维权援助
个人中心
登录/注册
详情
文本
图像
标题:
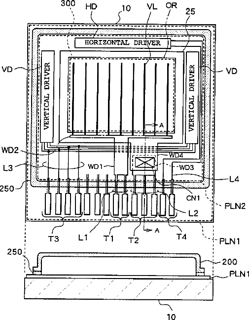
Line structure in electroluminescence display device
授权日:
2004-02-10
公开(公告)号:
US6690110
申请日:
2000-09-28
公开(公告)日:
2004-02-10
当前申请(专利权)人:
SANYO ELECTRIC CO., LTD.
发明人:
YAMADA, TSUTOMU | OKUYAMA, MASAHIRO
简单同族:
JP2001109395A | KR100354638B1 | KR1020010067268A | TW541850B | US6690110
简单同族成员数量:
5
简单同族被引用专利总数:
230
诉讼案件数:
0
法律状态/事件:
授权 | 权利转移