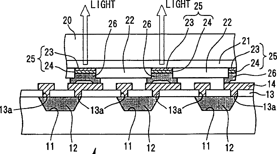
标题:
Organic electroluminescent display and manufacturing method thereof, electro-optic device and manufacturing method thereof, and electronic device
授权日:
1900-01-01
公开(公告)号:
US20020158577A1
申请日:
2001-07-06
公开(公告)日:
2002-10-31
当前申请(专利权)人:
EL TECHNOLOGY FUSION GODO KAISHA
发明人:
SHIMODA, TATSUYA | MIYASHITA, SATORU | INOUE, SATOSHI
简单同族:
JP2002082633A | JP3840926B2 | US20020158577A1 | US6919680
简单同族成员数量:
4
简单同族被引用专利总数:
238
诉讼案件数:
0
法律状态/事件:
授权 | 权利转移