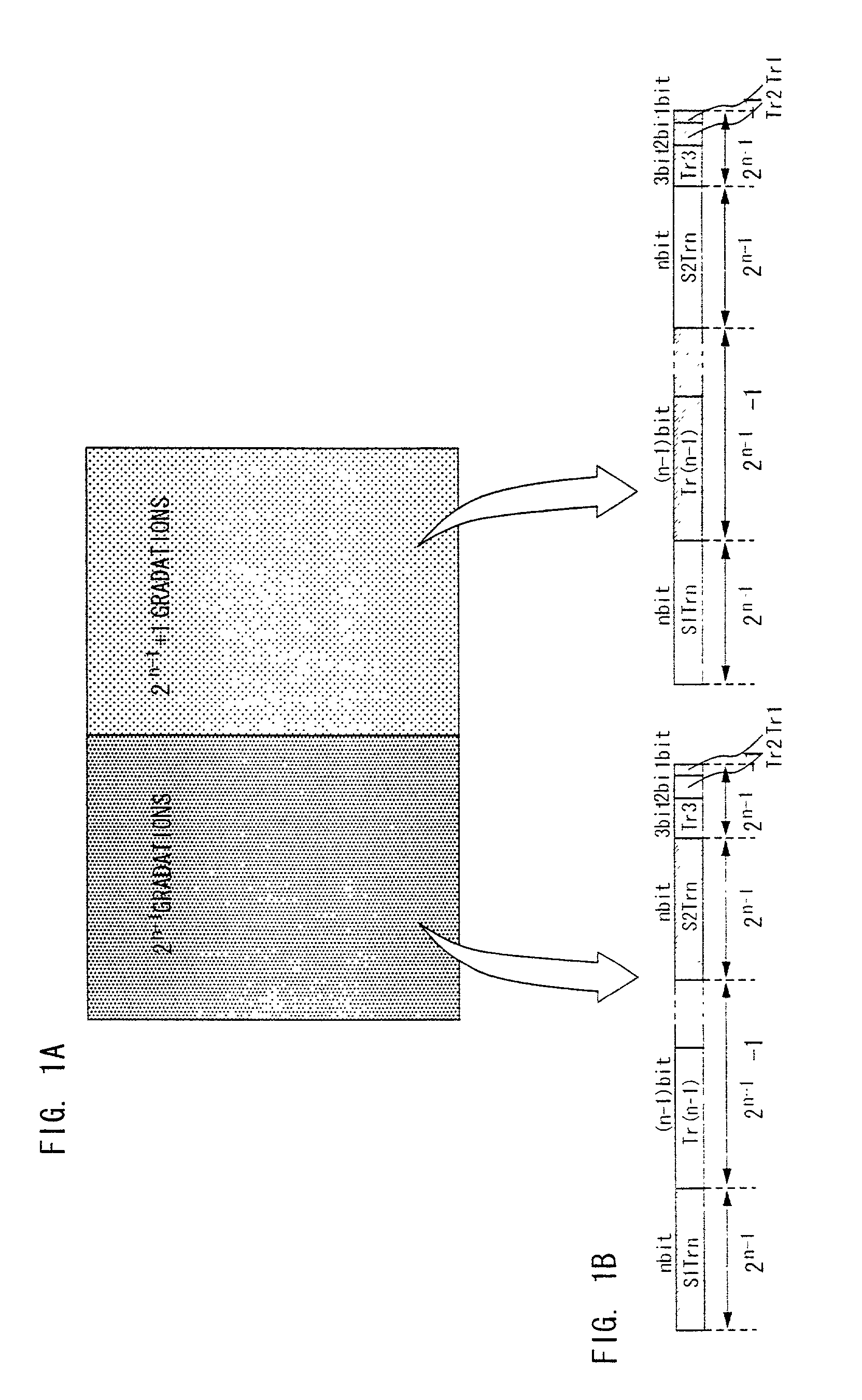
标题:
Method of driving EL display device
授权日:
1900-01-01
公开(公告)号:
US20020047852A1
申请日:
2001-09-04
公开(公告)日:
2002-04-25
当前申请(专利权)人:
SEMICONDUCTOR ENERGY LABORATORY CO., LTD.
发明人:
INUKAI, KAZUTAKA | OSAME, MITSUAKI | IWABUCHI, TOMOYUKI
简单同族:
CN100334607C | CN1342964A | EP1184833A2 | EP1184833A3 | EP1970884A2 | EP1970884A3 | JP2002149113A | JP2002149113A5 | JP4014831B2 | KR100812286B1 | KR1020020018975A | SG155765A1 | TW518554B | TW525136B | US20020047852A1 | US7106290 | WO2002021574A2 | WO2002021574A3
简单同族成员数量:
18
简单同族被引用专利总数:
191
诉讼案件数:
0
法律状态/事件:
未缴年费 | 权利转移