首页
专利数据库
产业人才
行业动态
产业政策法规
维权援助
个人中心
登录/注册
详情
文本
图像
标题:
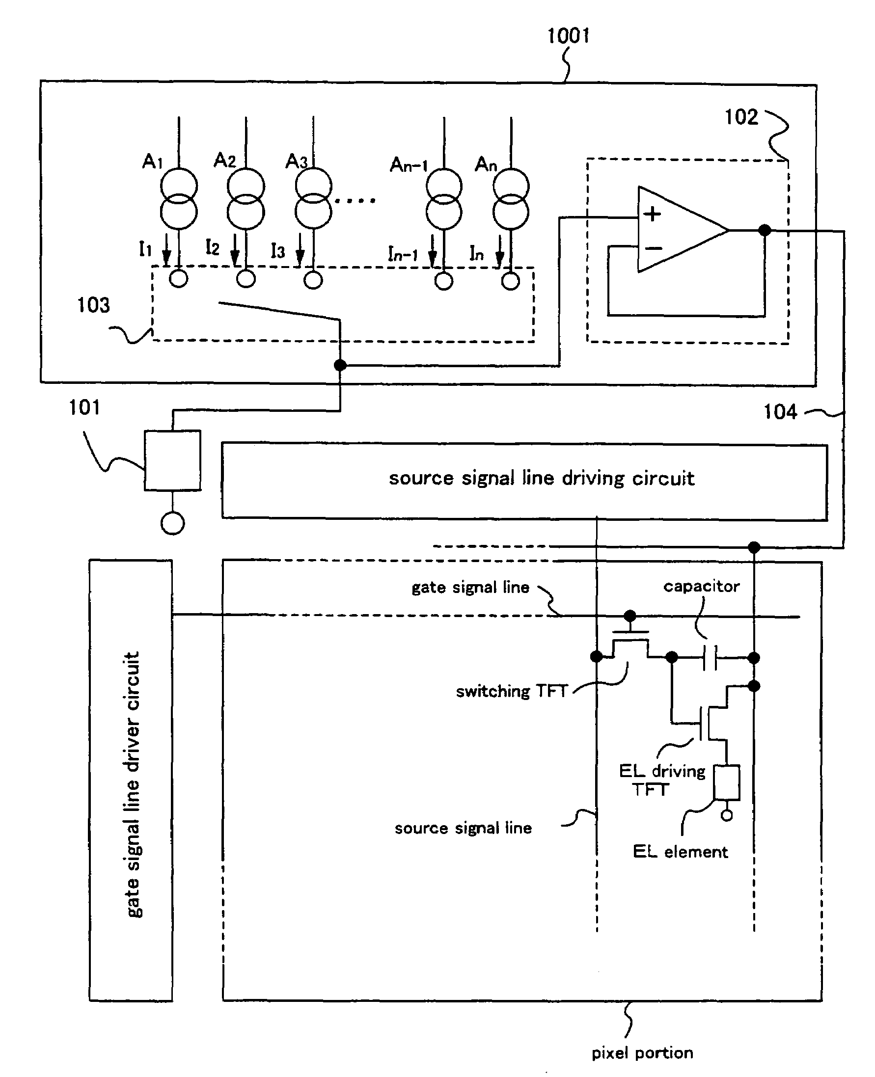
Display device and method of driving the same
授权日:
2009-10-27
公开(公告)号:
US7609236
申请日:
2004-08-25
公开(公告)日:
2009-10-27
当前申请(专利权)人:
SEMICONDUCTOR ENERGY LABORATORY CO., LTD.
发明人:
KOYAMA, JUN
简单同族:
US20020017643A1 | US20050017933A1 | US20100001930A1 | US6828950 | US7609236 | US8284127
简单同族成员数量:
6
简单同族被引用专利总数:
382
诉讼案件数:
0
法律状态/事件:
授权