首页
专利数据库
产业人才
行业动态
产业政策法规
维权援助
个人中心
登录/注册
详情
文本
图像
标题:
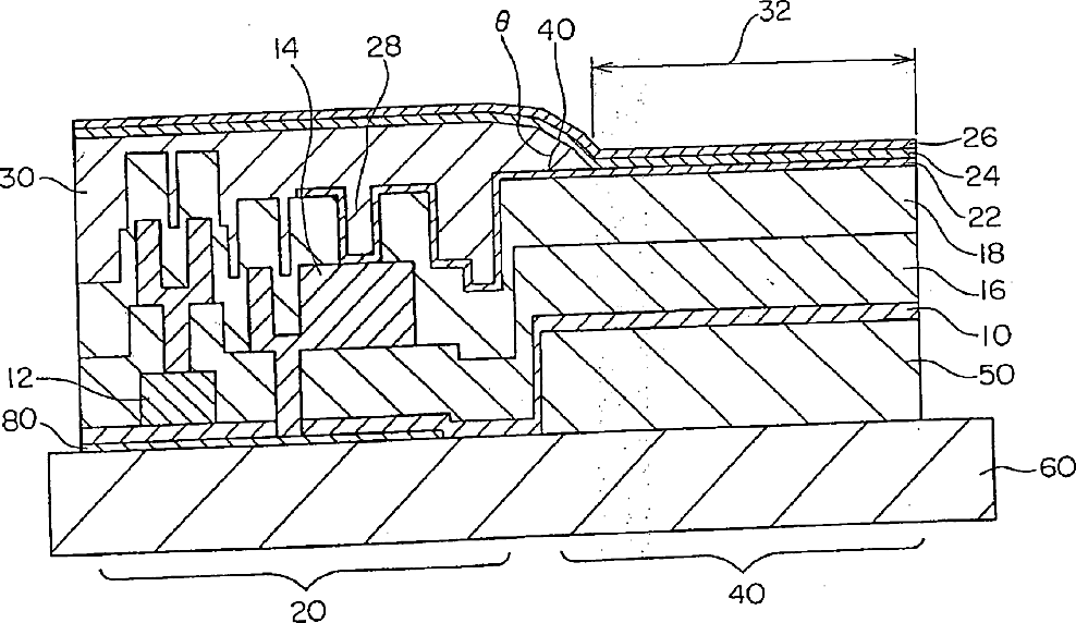
Organic EL display device
授权日:
1900-01-01
公开(公告)号:
US20030151358A1
申请日:
2003-02-11
公开(公告)日:
2003-08-14
当前申请(专利权)人:
SAMSUNG DISPLAY CO., LTD. | SAMSUNG SDI CO., LTD.
发明人:
IGA, DAISUKE
简单同族:
JP2003233332A | JP4094863B2 | KR100501707B1 | KR1020030068455A | US20030151358A1 | US20050099117A1 | US6836069 | US7301275
简单同族成员数量:
8
简单同族被引用专利总数:
76
诉讼案件数:
0
法律状态/事件:
授权 | 权利转移