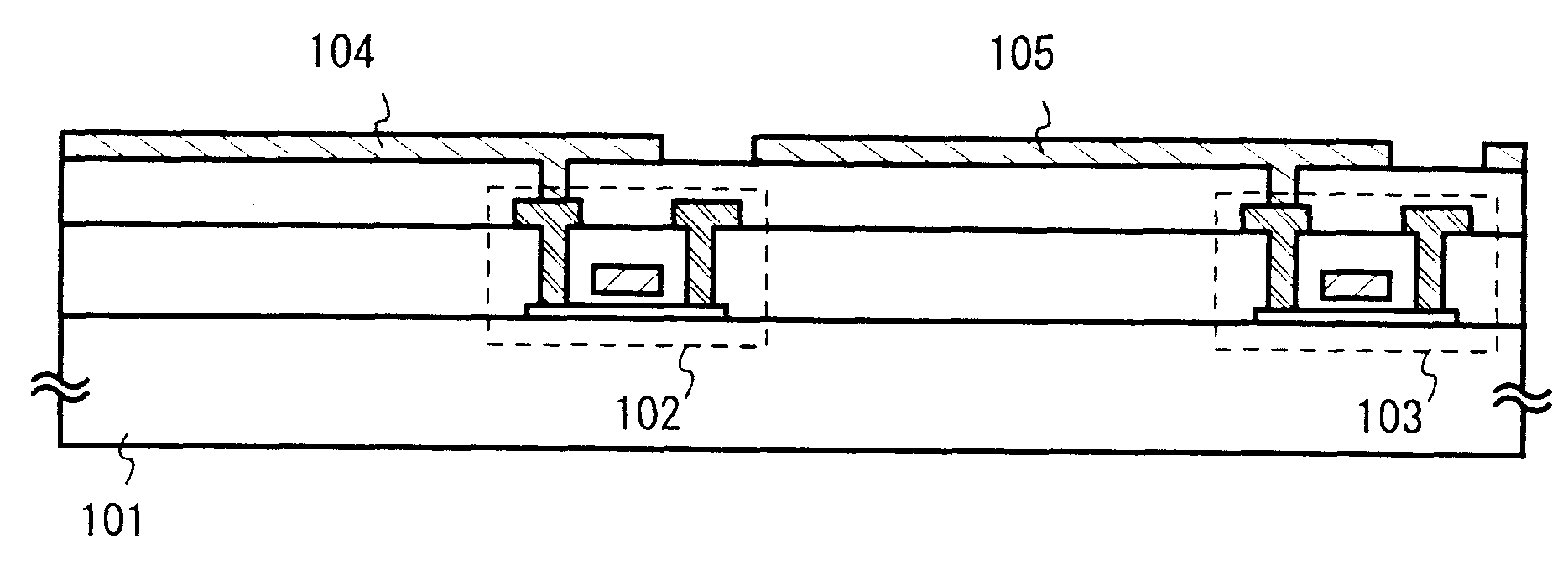
标题:
EL display device and method of manufacturing the same
授权日:
2002-08-13
公开(公告)号:
US6432561
申请日:
2000-07-13
公开(公告)日:
2002-08-13
当前申请(专利权)人:
SEMICONDUCTOR ENERGY LABORATORY CO., LTD.
发明人:
YAMAZAKI, SHUNPEI
简单同族:
CN1208845C | CN1282110A | CN1674748A | CN1674748B | CN1877880A | CN1877880B | EP1071144A2 | EP1071144A3 | EP1071144B1 | JP2001035657A | JP2001035657A5 | JP4472056B2 | KR100689641B1 | KR1020010039733A | TW517398B | US20020164416A1 | US20040229392A1 | US6432561 | US6673643 | US7456037
简单同族成员数量:
20
简单同族被引用专利总数:
144
诉讼案件数:
0
法律状态/事件:
未缴年费 | 权利转移