首页
专利数据库
产业人才
行业动态
产业政策法规
维权援助
个人中心
登录/注册
详情
文本
图像
标题:
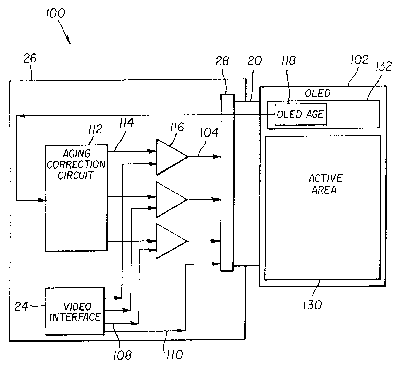
Display with aging correction circuit
授权日:
2002-12-31
公开(公告)号:
US6501230
申请日:
2001-08-27
公开(公告)日:
2002-12-31
当前申请(专利权)人:
GLOBAL OLED TECHNOLOGY LLC
发明人:
FELDMAN, RODNEY D.
简单同族:
EP1291840A2 | EP1291840A3 | JP2003151765A | KR1020030019103A | TW591942B | US6501230
简单同族成员数量:
6
简单同族被引用专利总数:
164
诉讼案件数:
0
法律状态/事件:
授权 | 权利转移