标题:
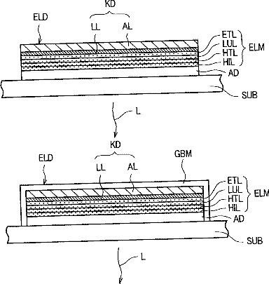
Organic electroluminescent display device
授权日:
1900-01-01
公开(公告)号:
US20050179378A1
申请日:
2005-02-11
公开(公告)日:
2005-08-18
当前申请(专利权)人:
SAMSUNG DISPLAY CO., LTD.
发明人:
OOOKA, HIROSHI | KATO, SHINICHI | FURUIE, MASAMITSU | ITO, MASATO
简单同族:
CN100490211C | CN1658711A | JP2005235403A | JP2005235403A5 | KR100707252B1 | KR1020060041946A | TW200709724A | TWI286913B | US20050179378A1 | US20080054800A1 | US7622861 | US7888862
简单同族成员数量:
12
简单同族被引用专利总数:
150
诉讼案件数:
0
法律状态/事件:
授权 | 权利转移