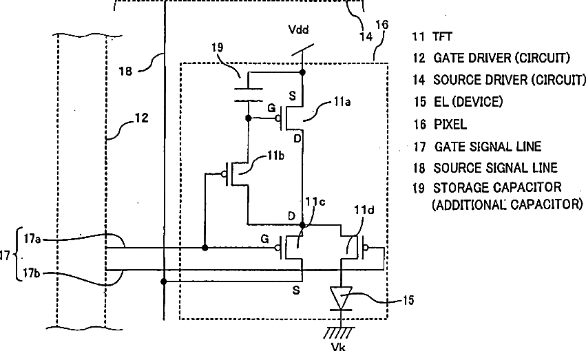
标题:
El display, el display driving circuit and image display
授权日:
1900-01-01
公开(公告)号:
US20050030264A1
申请日:
2002-09-06
公开(公告)日:
2005-02-10
当前申请(专利权)人:
PANASONIC CORPORATION
发明人:
TSUGE, HITOSHI | TAKAHARA, HIROSHI
简单同族:
CN100589162C | CN1552052A | EP1434193A1 | EP1434193A4 | JP4452076B2 | JPWO2003023752A1 | JPWO2003023752A5 | KR100714513B1 | KR100805522B1 | KR100912320B1 | KR1020040031039A | KR1020060130263A | KR1020070065415A | US20050030264A1 | US20070146251A1 | US7528812 | WO2003023752A1
简单同族成员数量:
17
简单同族被引用专利总数:
364
诉讼案件数:
0
法律状态/事件:
撤回 | 权利转移