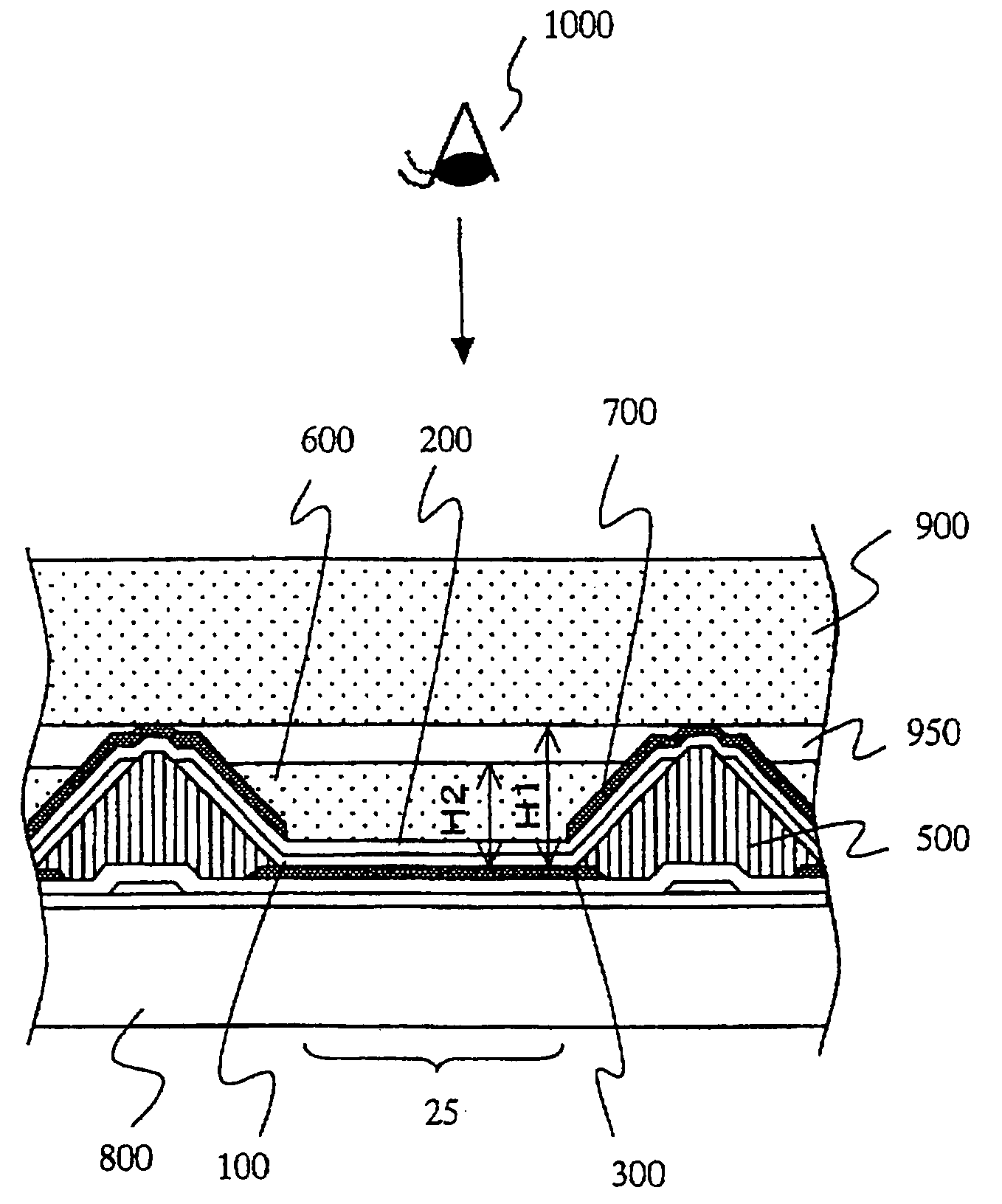
标题:
Light-emitting element and display device using same
授权日:
1900-01-01
公开(公告)号:
US20040113550A1
申请日:
2003-09-02
公开(公告)日:
2004-06-17
当前申请(专利权)人:
SAMSUNG DISPLAY CO., LTD.
发明人:
ADACHI, MASAYA | TSUJI, KAZUTAKA | MURAKAMI, HAJIME | NISHIMURA, ETSUKO
简单同族:
JP2004192977A | JP4252297B2 | KR100944311B1 | KR1020040051483A | US10192942 | US20040113550A1 | US20060138950A1 | US20080030132A1 | US20100135040A1 | US20110285269A1 | US20130169145A1 | US20140091705A1 | US20140319500A1 | US20150108466A1 | US20150364529A1 | US20160141345A1 | US20170141170A1 | US20180026086A1 | US20180226461A1 | US7030556 | US7279833 | US7812515 | US8049405 | US8193697 | US8558449 | US8791632 | US8928221 | US9153634 | US9276052 | US9595573 | US9799714 | US9966421
简单同族成员数量:
32
简单同族被引用专利总数:
242
诉讼案件数:
0
法律状态/事件:
授权 | 权利转移