首页
专利数据库
产业人才
行业动态
产业政策法规
维权援助
个人中心
登录/注册
详情
文本
图像
标题:
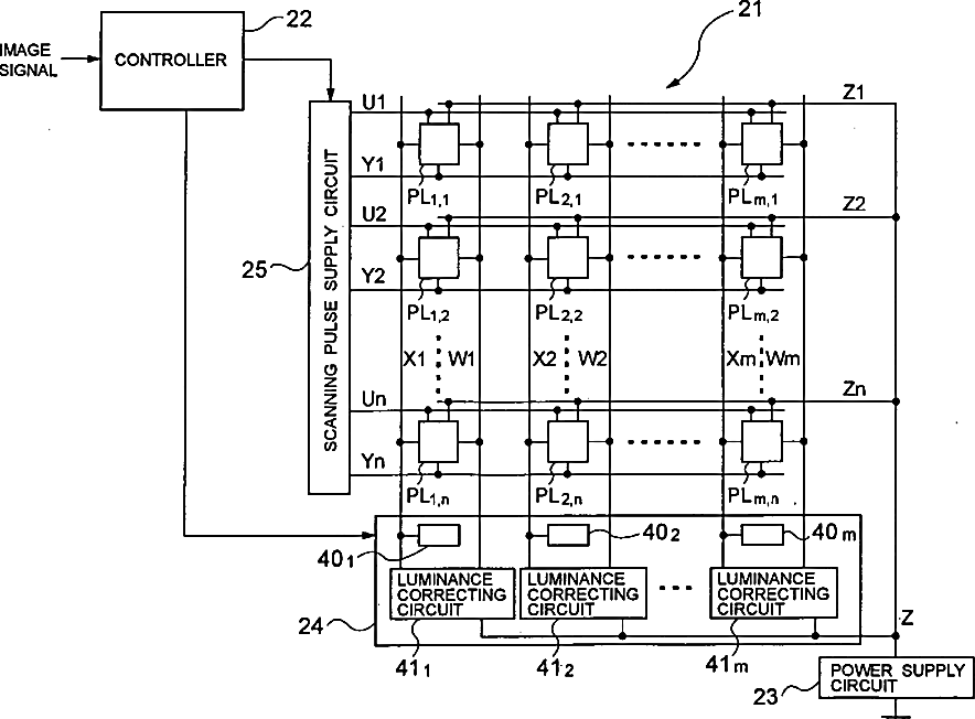
Display panel and display device
授权日:
1900-01-01
公开(公告)号:
US20040130545A1
申请日:
2003-09-29
公开(公告)日:
2004-07-08
当前申请(专利权)人:
PIONEER CORPORATION
发明人:
ISHIZUKA, SHINICHI
简单同族:
JP2004125852A | JP4230746B2 | US20040130545A1 | US6873117
简单同族成员数量:
4
简单同族被引用专利总数:
216
诉讼案件数:
0
法律状态/事件:
未缴年费 | 权利转移