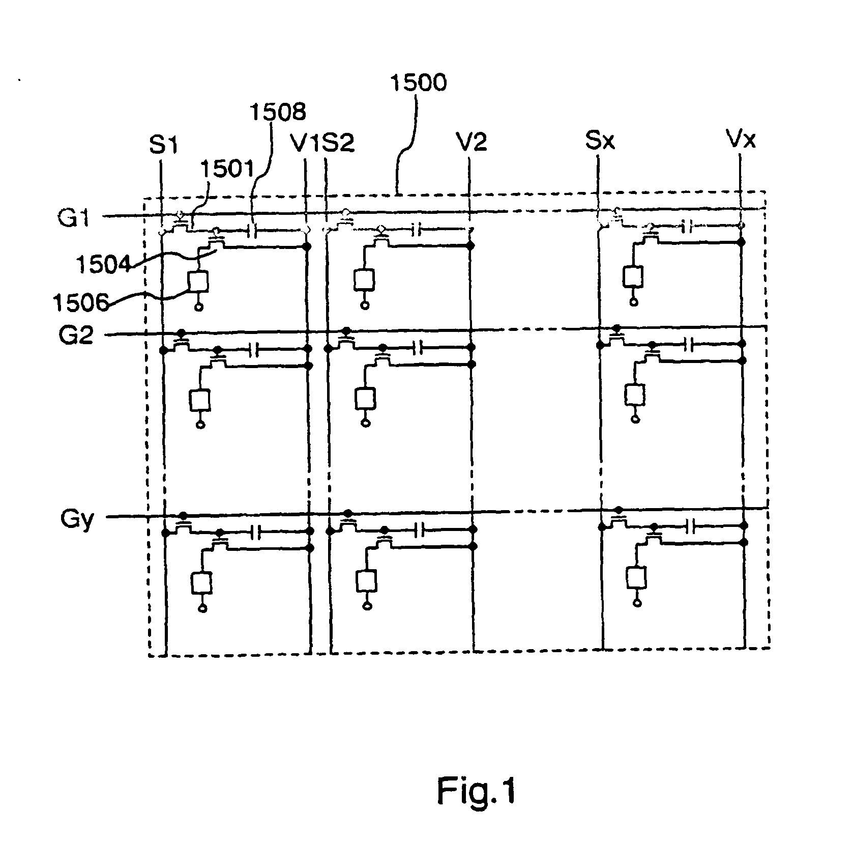
标题:
Gradation control of an electro-optical display device
授权日:
2010-09-22
公开(公告)号:
EP1096465B1
申请日:
2000-10-26
公开(公告)日:
2010-09-22
当前申请(专利权)人:
SEMICONDUCTOR ENERGY LABORATORY CO., LTD.
发明人:
KOYAMA, JUN, C/O SEMICONDUCTOR ENERGY LAB. CO.,LTD
简单同族:
CN1265471C | CN1295349A | CN1855527A | CN1855527B | DE60044995D1 | EP1096465A2 | EP1096465A3 | EP1096465B1 | JP2001222257A | JP2001222257A5 | JP2011138136A | JP2014013396A | JP2015092482A | JP2016054163A | JP2017084804A | JP5216174B2 | JP5688437B2 | JP6010594B2 | JP6240144B2 | KR100766892B1 | KR100780432B1 | KR1020010051253A | KR1020050118121A | KR1020070079334A | TW510147B | US20030197664A1 | US20080001539A1 | US20110278572A1 | US20130214261A1 | US20150108465A1 | US6587086 | US7239083 | US7986094 | US8390190 | US8933624 | US9391132
简单同族成员数量:
36
简单同族被引用专利总数:
238
诉讼案件数:
0
法律状态/事件:
权利终止