标题:
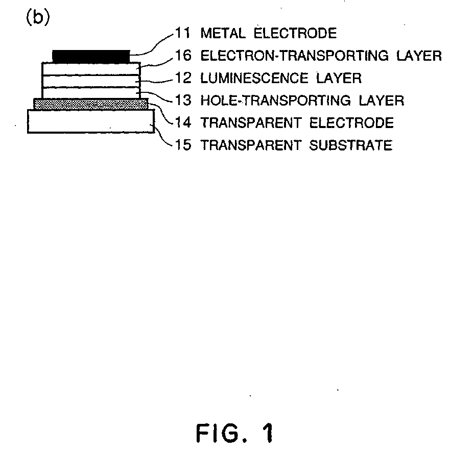
Metal coordination compound and electroluminescence device
授权日:
1900-01-01
公开(公告)号:
EP1400514A1
申请日:
2002-06-17
公开(公告)日:
2004-03-24
当前申请(专利权)人:
CANON KABUSHIKI KAISHA
发明人:
TAKIGUCHI, TAKAO | TSUBOYAMA, AKIRA | OKADA, SHINJIRO | KAMATANI, JUN | MIURA, SEISHI | MORIYAMA, TAKASHI | IGAWA, SATOSHI | FURUGORI, MANABU | MIZUTANI, HIDEMASA
简单同族:
AT422493T | CN100500656C | CN1503785A | DE60231117D1 | EP1400514A1 | EP1400514A4 | EP1400514B1 | JP2003007469A | KR100747060B1 | KR1020040010735A | US20030235712A1 | US20050085654A1 | US6824894 | US7078115 | WO2003000661A1
简单同族成员数量:
15
简单同族被引用专利总数:
251
诉讼案件数:
0
法律状态/事件:
权利终止