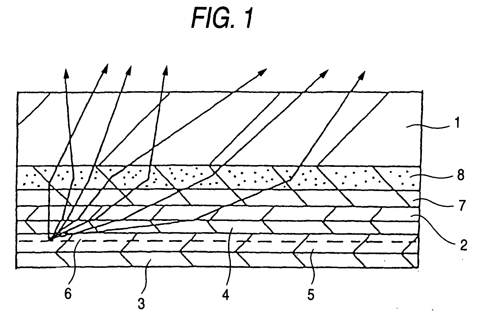
标题:
Electroluminescence device, planar light source and display using the same
授权日:
1900-01-01
公开(公告)号:
EP1548856A2
申请日:
2004-09-06
公开(公告)日:
2005-06-29
当前申请(专利权)人:
NITTO DENKO CORPORATION
发明人:
JUNI, NORIYUKI | NAKAMURA, TOSHITAKA | HOTTA, YUJI
简单同族:
CN1638585A | EP1548856A2 | EP1548856A3 | KR1020050066970A | US20050142379A1 | US7722965
简单同族成员数量:
6
简单同族被引用专利总数:
225
诉讼案件数:
0
法律状态/事件:
驳回