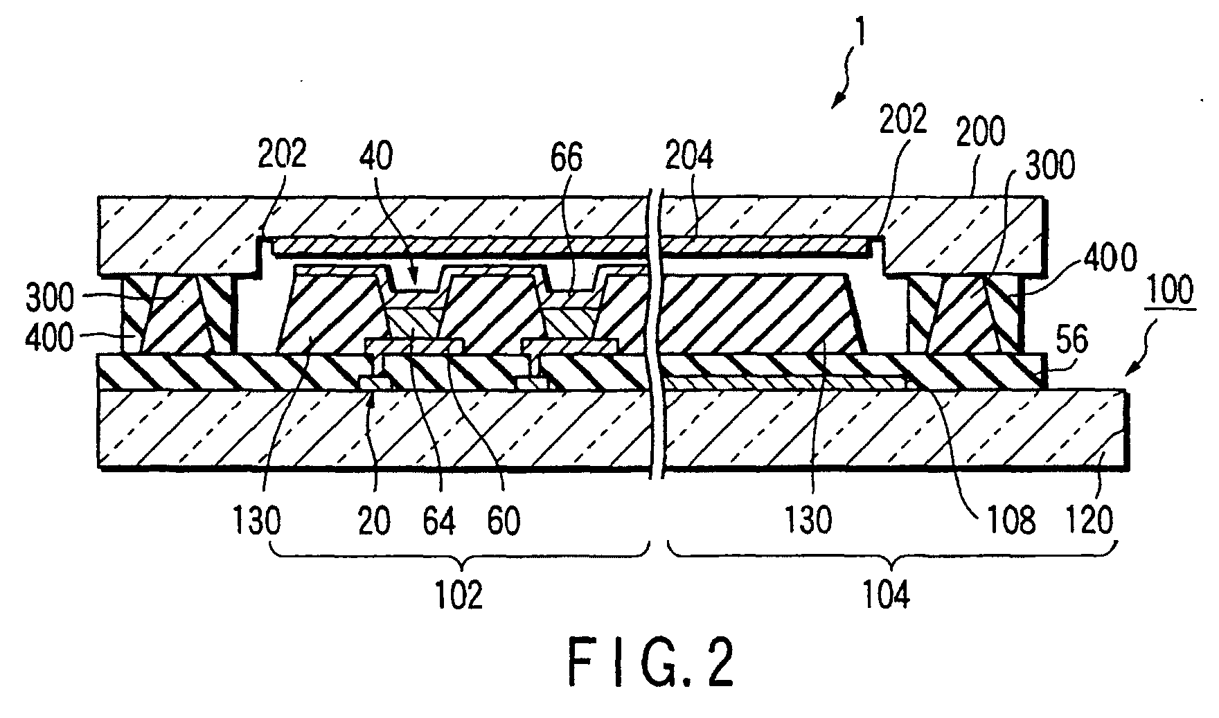
标题:
Display apparatus and manufacturing method thereof
授权日:
1900-01-01
公开(公告)号:
EP1473975A1
申请日:
2003-01-31
公开(公告)日:
2004-11-03
当前申请(专利权)人:
KABUSHIKI KAISHA TOSHIBA
发明人:
TOMIMATSU, TOSHIFUMI | KOBAYASHI, MICHIYA, 2-301, FOX-FIELD
简单同族:
CN100364133C | CN1498517A | EP1473975A1 | EP1473975A4 | JP2003228302A | KR100565409B1 | KR1020030090701A | TW200308181A | TWI223572B | US20040150319A1 | US20060197446A1 | US7193366 | WO2003067935A1
简单同族成员数量:
13
简单同族被引用专利总数:
159
诉讼案件数:
0
法律状态/事件:
撤回