标题:
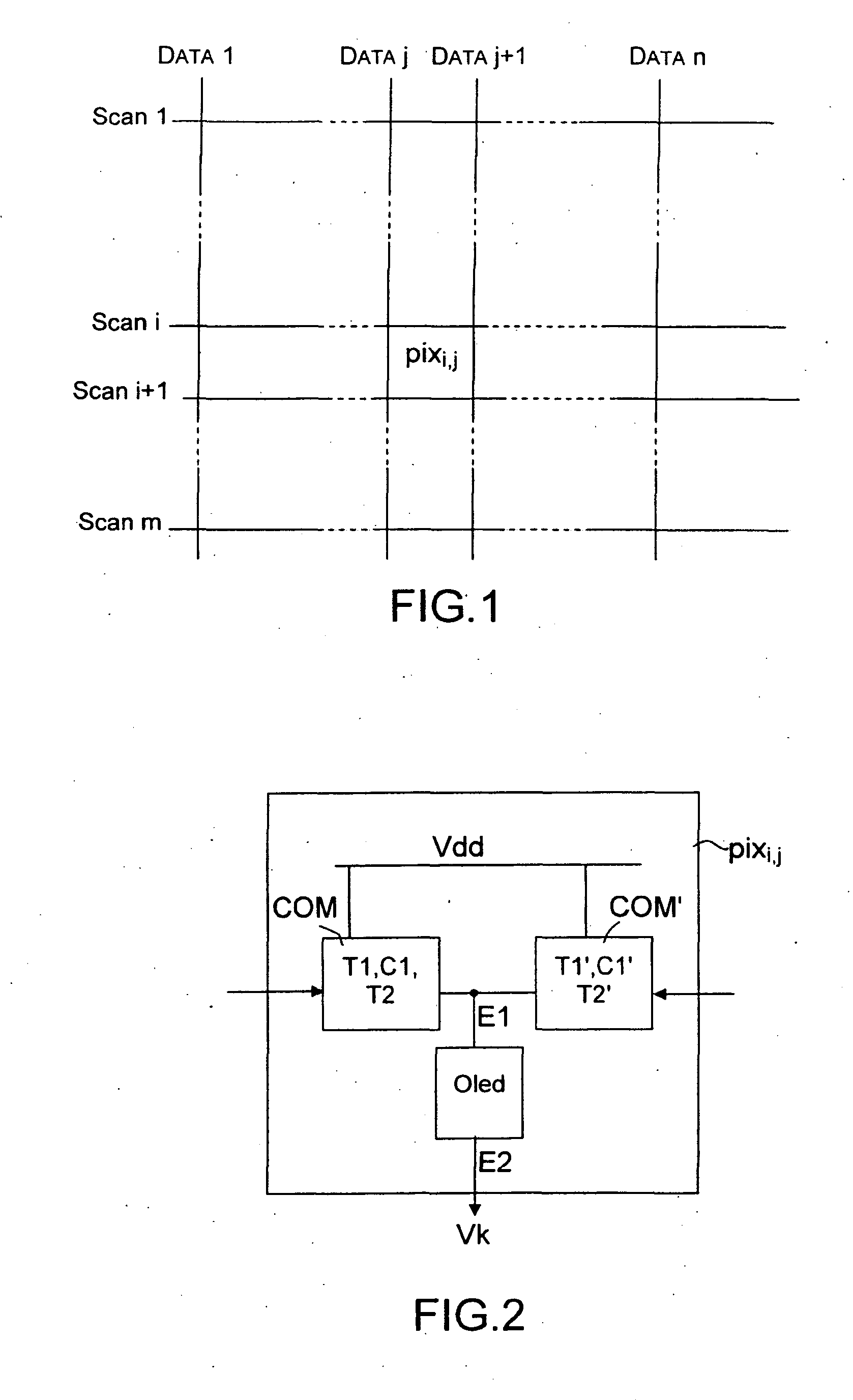
Active matrix of an organic electroluminescent display
授权日:
2013-04-24
公开(公告)号:
EP1970961B1
申请日:
2008-03-14
公开(公告)日:
2013-04-24
当前申请(专利权)人:
THALES
发明人:
KRETZ, THIERRY | LEBRUN, HUGUES | CHUITON, ELISABETH
简单同族:
EP1970961A1 | EP1970961B1 | FR2913818A1 | FR2913818B1 | JP2008292983A | JP5560487B2 | KR101486081B1 | KR1020080084770A | US20080231556A1 | US8040299
简单同族成员数量:
10
简单同族被引用专利总数:
57
诉讼案件数:
0
法律状态/事件:
授权