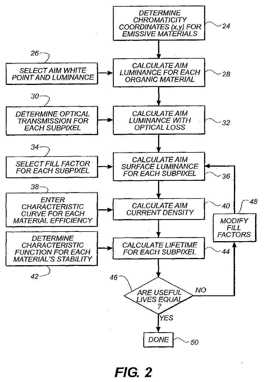
标题:
Color organic light emitting diode display with improved lifetime
授权日:
1900-01-01
公开(公告)号:
EP1391918A2
申请日:
2003-08-08
公开(公告)日:
2004-02-25
当前申请(专利权)人:
GLOBAL OLED TECHNOLOGY LLC
发明人:
ARNOLD, ANDREW D. | MILLER, MICHAEL E. | MURDOCH, MICHAEL J.
简单同族:
EP1391918A2 | EP1391918A3 | EP1391918B1 | EP2752866A1 | JP2004079538A | JP2011146394A | JP4851061B2 | JP4965721B2 | KR100988903B1 | KR1020040017786A | TW200403615A | TWI277930B | US20040036421A1 | US6747618
简单同族成员数量:
14
简单同族被引用专利总数:
188
诉讼案件数:
0
法律状态/事件:
授权 | 权利转移