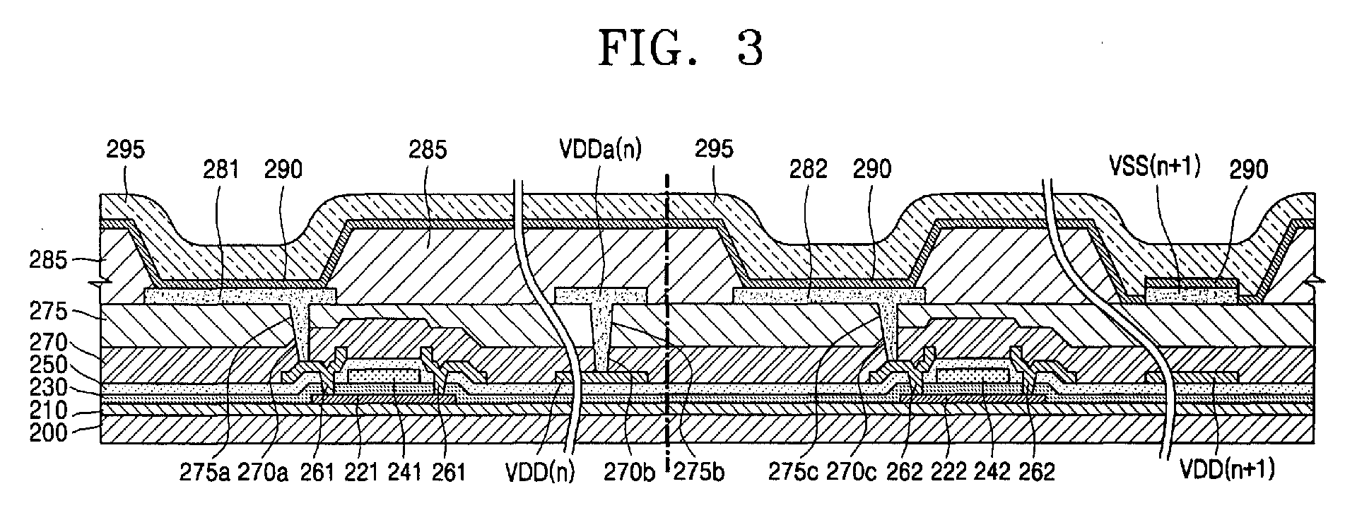
标题:
Organic electro-luminescent display device and method of manufacturing the same
授权日:
1900-01-01
公开(公告)号:
EP1587154A2
申请日:
2005-02-09
公开(公告)日:
2005-10-19
当前申请(专利权)人:
SAMSUNG DISPLAY CO., LTD.
发明人:
KWAK, WON-KYU LEGAL & IP TEAM,SAMSUNG SDI CO.,LTD.
简单同族:
CN1658726A | CN1658726B | EP1587154A2 | EP1587154A3 | EP1587154B1 | JP2005227788A | JP4058440B2 | KR100573132B1 | KR1020050081540A | US20050179374A1 | US20080272992A1 | US7456811 | US8164545
简单同族成员数量:
13
简单同族被引用专利总数:
178
诉讼案件数:
0
法律状态/事件:
授权 | 权利转移