首页
专利数据库
产业人才
行业动态
产业政策法规
维权援助
个人中心
登录/注册
详情
文本
图像
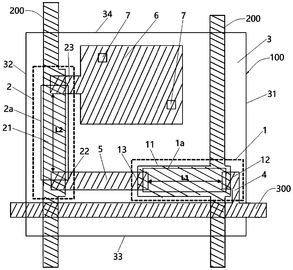
标题:
子像素结构、液晶面板及反射式液晶显示设备
授权日:
1900-01-01
公开(公告)号:
CN110794631A
申请日:
2019-11-21
公开(公告)日:
2020-02-14
当前申请(专利权)人:
京东方科技集团股份有限公司 | 北京京东方光电科技有限公司
发明人:
武晓娟 | 钟璇 | 袁洪亮 | 郑琪 | 程张祥 | 毕谣 | 赵志强 | 王家星 | 张冬华
简单同族:
CN110794631A
简单同族成员数量:
1
简单同族被引用专利总数:
0
诉讼案件数:
0
法律状态/事件:
实质审查