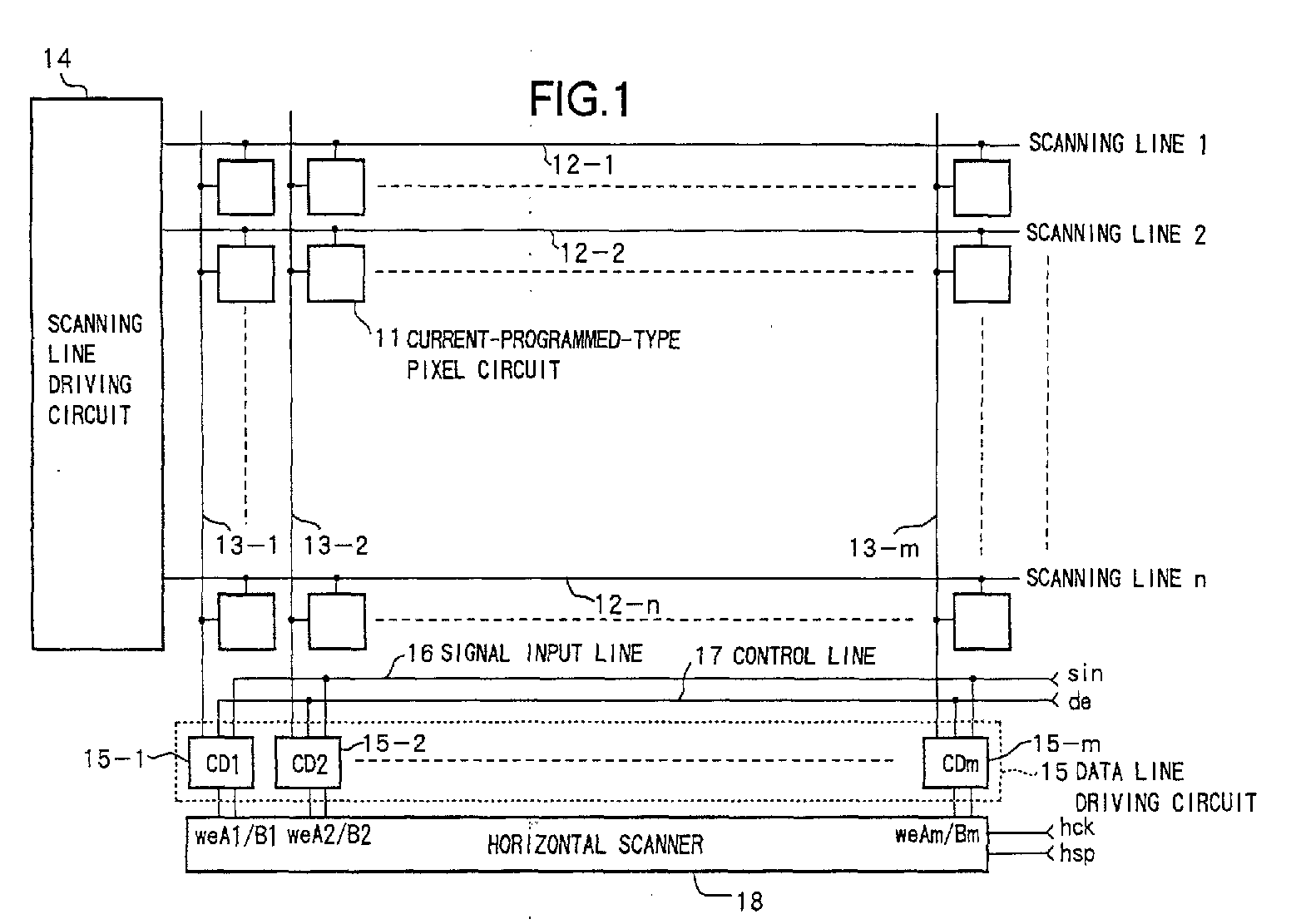
标题:
Active matrix display and active matrix organic electroluminescence display
授权日:
1900-01-01
公开(公告)号:
EP1333422A1
申请日:
2001-11-07
公开(公告)日:
2003-08-06
当前申请(专利权)人:
SONY CORPORATION
发明人:
YUMOTO, AKIRA, C/O SONY CORPORATION
简单同族:
CN1189855C | CN1404600A | EP1333422A1 | EP1333422B1 | JP2003195815A | KR100830772B1 | KR1020020069241A | TW538649B | US10269296 | US20060119552A1 | US20130088524A1 | US20140055441A1 | US20150054813A1 | US20160117984A1 | US20170358260A1 | US8120551 | US8558769 | US8810486 | US9245481 | US9741289 | WO2002039420A1
简单同族成员数量:
21
简单同族被引用专利总数:
334
诉讼案件数:
0
法律状态/事件:
授权