标题:
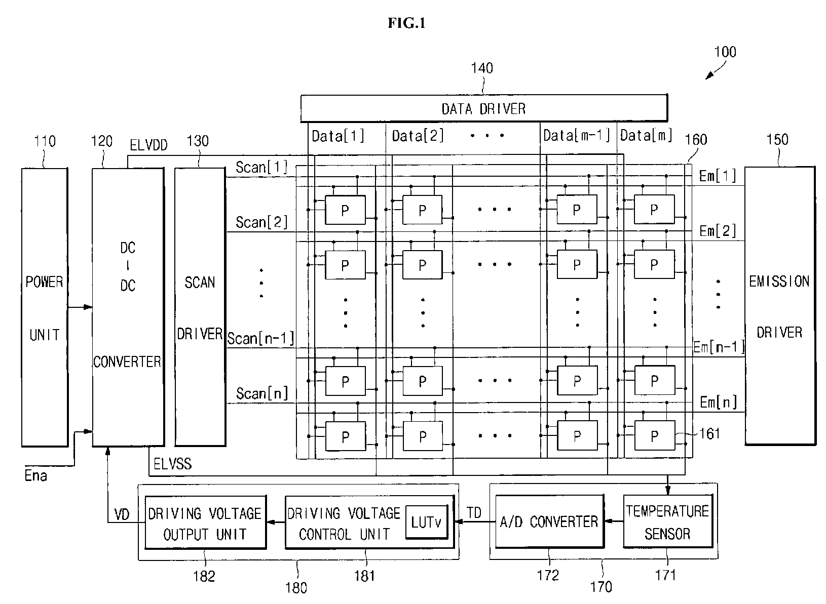
Organic light emitting display and driving method thereof
授权日:
1900-01-01
公开(公告)号:
EP1978506A3
申请日:
2008-04-04
公开(公告)日:
2009-08-19
当前申请(专利权)人:
SAMSUNG DISPLAY CO., LTD.
发明人:
LEE, DUK-JIN | LEE, JEONG-NO
简单同族:
CN101281721A | CN101281721B | EP1978506A2 | EP1978506A3 | JP2008257161A | JP5120876B2 | KR1020080090879A | US20080246702A1 | US8952874
简单同族成员数量:
9
简单同族被引用专利总数:
78
诉讼案件数:
0
法律状态/事件:
驳回 | 权利转移