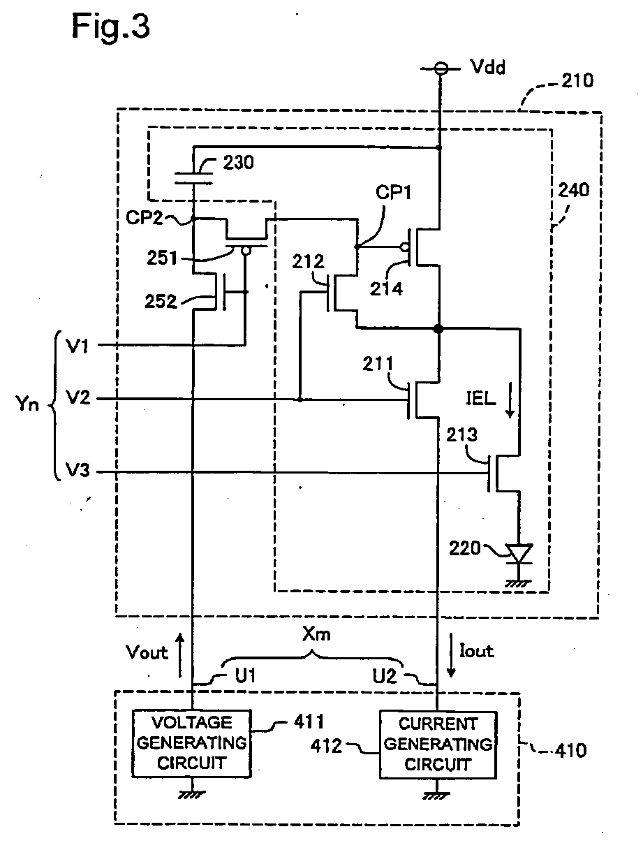
标题:
Pixel circuit for light emitting element
授权日:
1900-01-01
公开(公告)号:
EP1921596A3
申请日:
2002-12-11
公开(公告)日:
2008-08-13
当前申请(专利权)人:
SEIKO EPSON CORPORATION
发明人:
MIYAZAWA, TAKASH
简单同族:
CN1266662C | CN1426041A | CN1758313A | CN1901016A | DE60228392D1 | EP1321922A2 | EP1321922A3 | EP1321922B1 | EP1777692A2 | EP1777692A3 | EP1777692B1 | EP1921596A2 | EP1921596A3 | JP2003177709A | JP2003177709A5 | KR100455467B1 | KR1020030048358A | TW200300922A | TW575858B | US20030122745A1 | US20050243040A1 | US6930680 | US7969389
简单同族成员数量:
23
简单同族被引用专利总数:
375
诉讼案件数:
0
法律状态/事件:
撤回