标题:
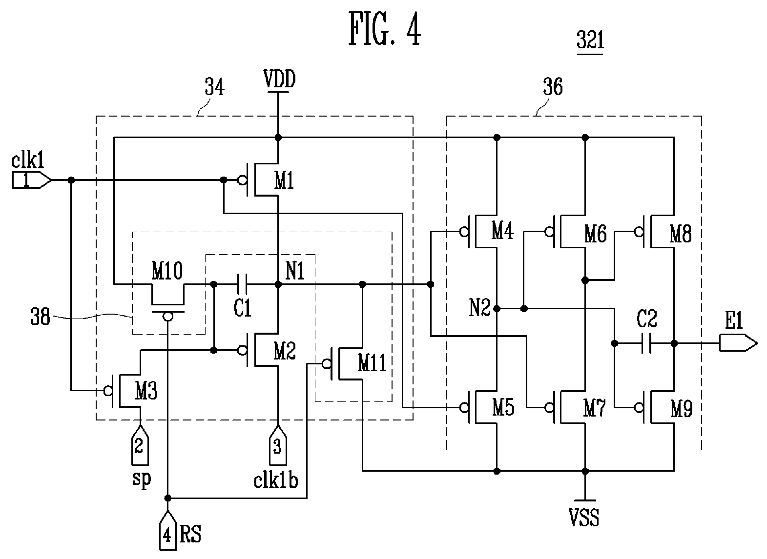
Emission driver and organic light emitting display using the same
授权日:
1900-01-01
公开(公告)号:
EP2099018A1
申请日:
2009-03-04
公开(公告)日:
2009-09-09
当前申请(专利权)人:
SAMSUNG MOBILE DISPLAY CO., LTD.
发明人:
JEONG, SEON | KIM, MI-HAE | EOM, KI-MYEONG | JEONG, JIN-TAE
简单同族:
CN101527110A | CN101527110B | EP2099018A1 | EP2099018B1 | JP2009211028A | JP4887334B2 | KR100911982B1 | US20090225068A1 | US8339424
简单同族成员数量:
9
简单同族被引用专利总数:
64
诉讼案件数:
0
法律状态/事件:
授权