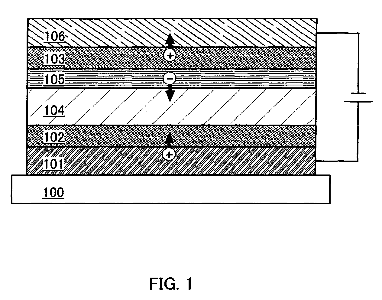
标题:
Light-emitting element, display device, and electronic appliance
授权日:
1900-01-01
公开(公告)号:
EP1624502A3
申请日:
2005-08-01
公开(公告)日:
2011-04-06
当前申请(专利权)人:
SEMICONDUCTOR ENERGY LABORATORY CO., LTD.
发明人:
KUMAKI, DAISUKE | SEO, SATOSHI C/OSEMICONDUCTOR ENERGY LAB. CO., LTD
简单同族:
CN100512580C | CN101562236A | CN101562236B | CN1735298A | EP1624502A2 | EP1624502A3 | EP1624502B1 | JP2011014939A | JP2012119724A | JP2013138268A | JP2013138268A5 | JP2014030031A | JP5600766B2 | JP5663641B2 | KR101221340B1 | KR101221349B1 | KR1020060049289A | KR1020120004390A | TW200618350A | TW200947774A | TWI366923B | TWI404234B | US20060027830A1 | US20090079342A1 | US20110241007A1 | US7462883 | US7964891 | US8618574
简单同族成员数量:
28
简单同族被引用专利总数:
168
诉讼案件数:
0
法律状态/事件:
授权