标题:
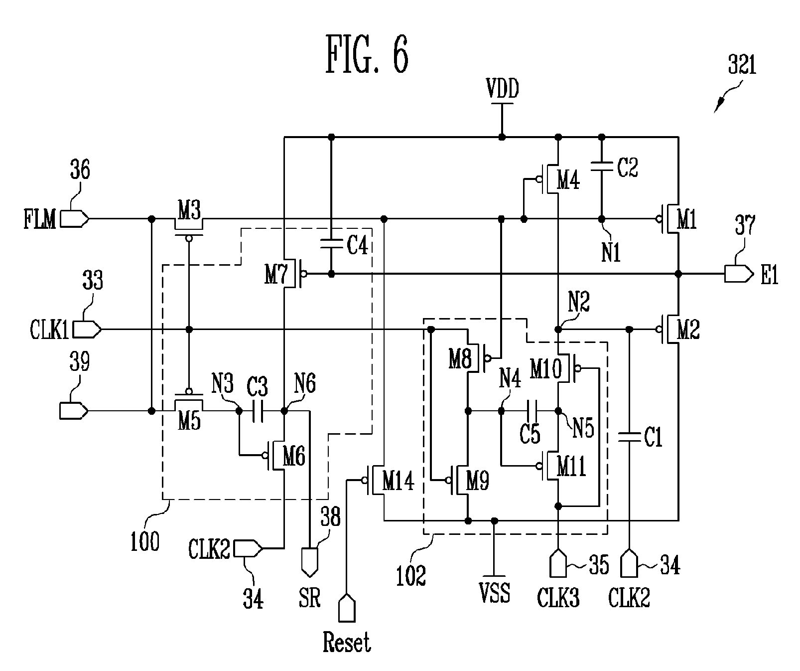
Emission control line driver and organic light emitting display using the same
授权日:
1900-01-01
公开(公告)号:
EP2474969A1
申请日:
2011-12-16
公开(公告)日:
2012-07-11
当前申请(专利权)人:
SAMSUNG DISPLAY CO., LTD.
发明人:
JANG, HWAN-SOO | PYON, CHANG-SOO
简单同族:
CN102592539A | CN102592539B | EP2474969A1 | EP2474969B1 | JP2012145906A | JP5940769B2 | KR101944465B1 | KR1020120080008A | TW201232518A | TWI451388B | US20120176417A1 | US9129562
简单同族成员数量:
12
简单同族被引用专利总数:
73
诉讼案件数:
0
法律状态/事件:
授权 | 权利转移