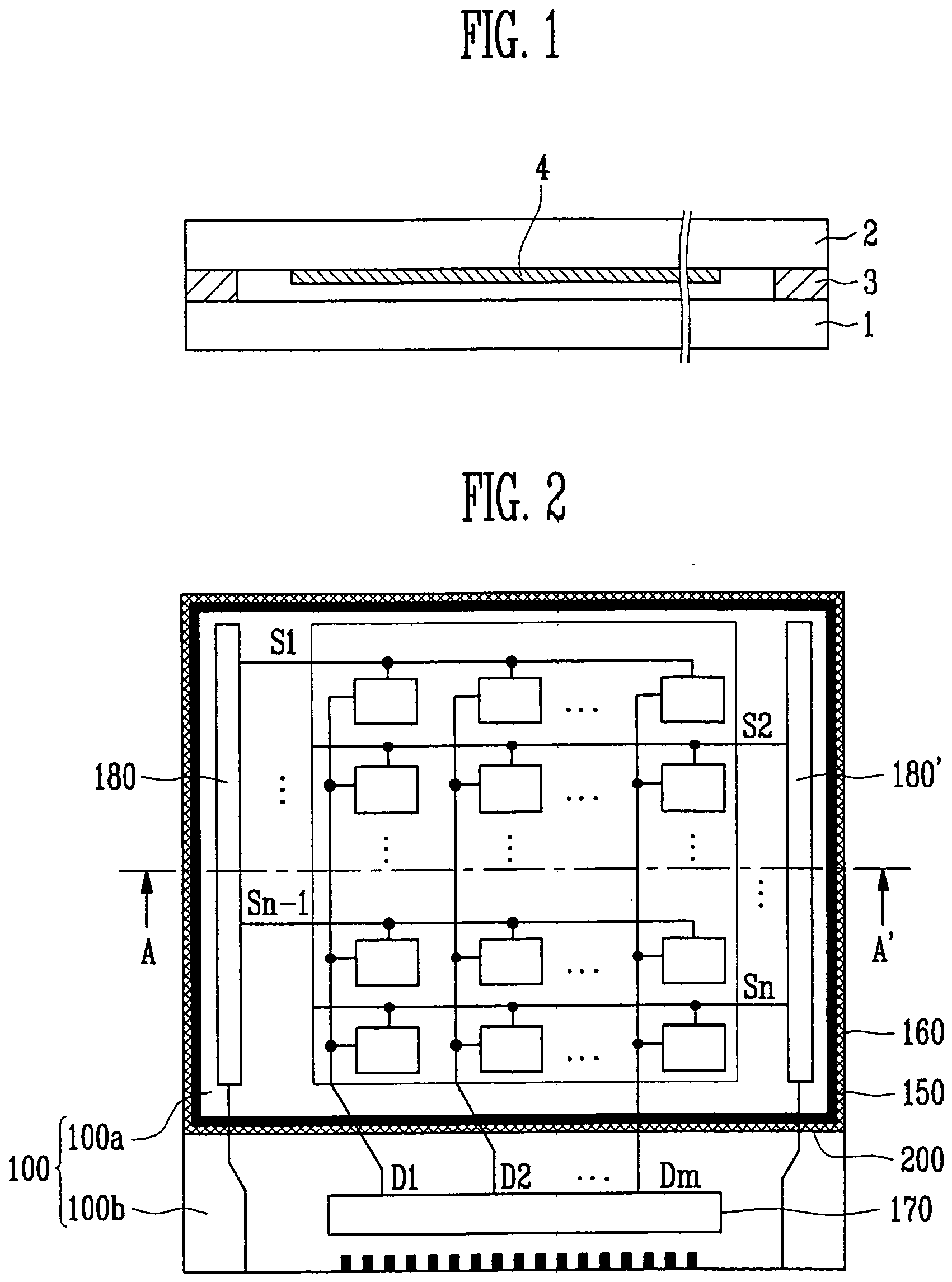
标题:
Organic light-emitting display device with frit seal and reinforcing structure
授权日:
2016-12-14
公开(公告)号:
EP1811587B1
申请日:
2007-01-19
公开(公告)日:
2016-12-14
当前申请(专利权)人:
SAMSUNG DISPLAY CO., LTD.
发明人:
CHOI, DONG-SOO, SAMSUNG SDI CO., LTD. | LIM, DAE HO, SAMSUNG SDI CO., LTD. | PARK, JIN-WOO, SAMSUNG SDI CO., LTD. | LEE, JONG WOO, SAMSUNG SDI CO., LTD. | LEE, UNG SOO, SAMSUNG SDI CO., LTD. | SIN, SANG WOOK, SAMSUNG SDI CO., LTD. | LEE, JAE SUN, SAMSUNG SDI CO., LTD.
简单同族:
CN101009307A | CN108249764A | EP1811587A2 | EP1811587A3 | EP1811587B1 | JP2007194184A | JP4926580B2 | KR100673765B1 | TW200738047A | TWI348330B | US20070170839A1 | US20130237115A1 | US8415880 | US9004972
简单同族成员数量:
14
简单同族被引用专利总数:
209
诉讼案件数:
0
法律状态/事件:
授权 | 权利转移