首页
专利数据库
产业人才
行业动态
产业政策法规
维权援助
个人中心
登录/注册
详情
文本
图像
标题:
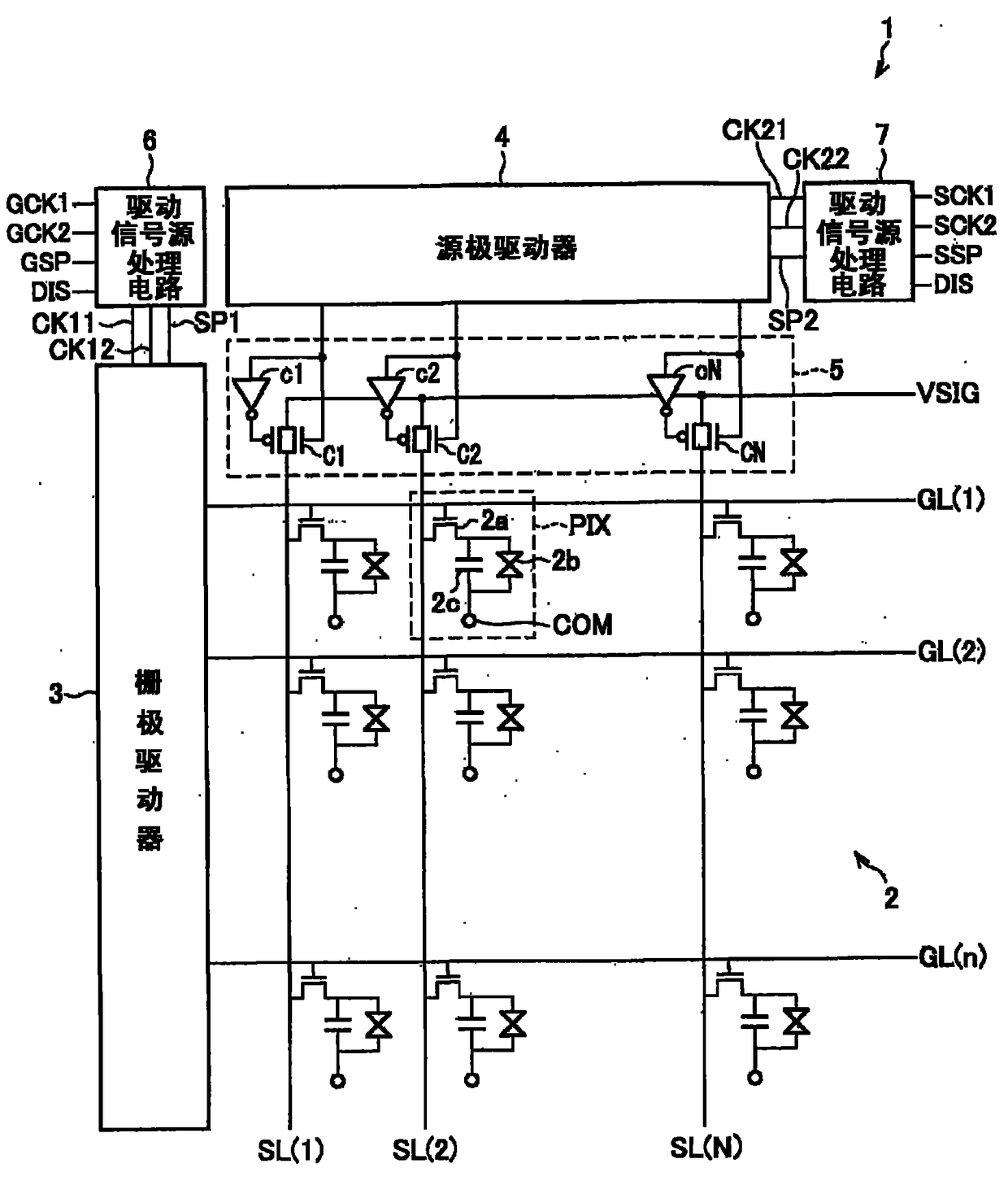
显示装置及其驱动方法
授权日:
2012-02-29
公开(公告)号:
CN101336447B
申请日:
2006-11-30
公开(公告)日:
2012-02-29
当前申请(专利权)人:
夏普株式会社
发明人:
大河宽幸 | 村上祐一郎 | 辻野幸生
简单同族:
CN101336447A | CN101336447B | JP4782191B2 | JPWO2007108177A1 | US20090121998A1 | US8085236 | WO2007108177A1
简单同族成员数量:
7
简单同族被引用专利总数:
106
诉讼案件数:
0
法律状态/事件:
授权