标题:
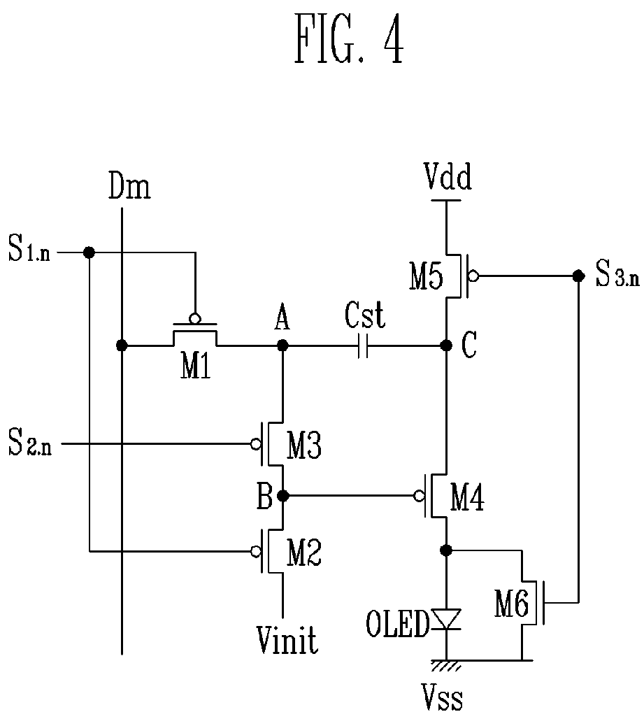
Pixel circuit for OLED display with self-compensation of the threshold voltage
授权日:
1900-01-01
公开(公告)号:
EP1646032A1
申请日:
2005-10-04
公开(公告)日:
2006-04-12
当前申请(专利权)人:
SAMSUNG SDI CO., LTD.
发明人:
JUNG, JIN TAE
简单同族:
CN100461246C | CN1758308A | DE602005003422D1 | DE602005003422T2 | EP1646032A1 | EP1646032B1 | JP2006113586A | JP4630789B2 | KR100592636B1 | KR1020060031545A | US20060077194A1 | US7327357
简单同族成员数量:
12
简单同族被引用专利总数:
202
诉讼案件数:
0
法律状态/事件:
授权