标题:
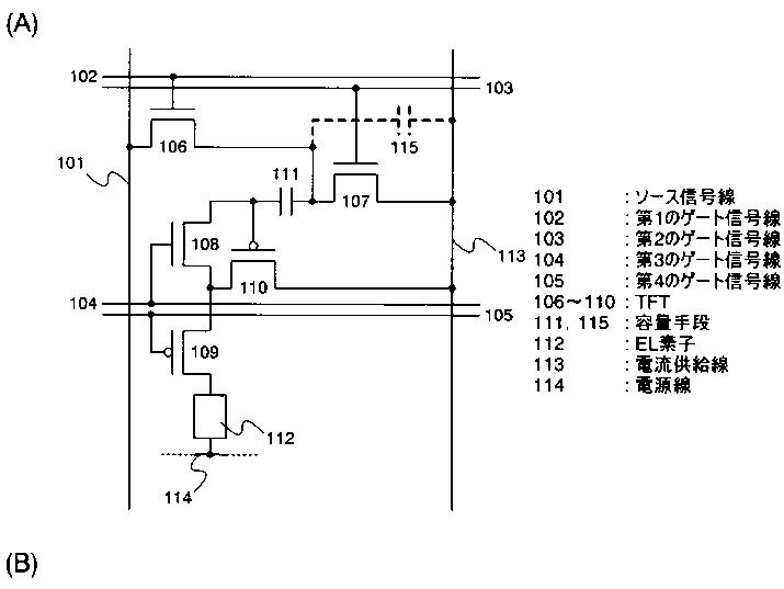
画素回路
授权日:
1900-01-01
公开(公告)号:
JP2010117725A
申请日:
2009-12-28
公开(公告)日:
2010-05-27
当前申请(专利权)人:
株式会社半導体エネルギー研究所
发明人:
木村 肇
简单同族:
JP2010117725A | JP2011164642A | JP2011242789A | JP2013210676A | JP2015007795A | JP2016029493A | JP2016224468A | JP4785997B2 | JP4801770B2 | JP5448269B2 | JP5634564B2 | JP5982439B2 | JP6223402B2 | JP6223523B2 | US10043862 | US20040080474A1 | US20090096727A1 | US20110205215A1 | US20130057174A1 | US20150108485A1 | US20160013261A1 | US20170250309A1 | US7456810 | US8063859 | US8305306 | US8941314 | US9171870 | US9601560
简单同族成员数量:
28
简单同族被引用专利总数:
253
诉讼案件数:
0
法律状态/事件:
授权