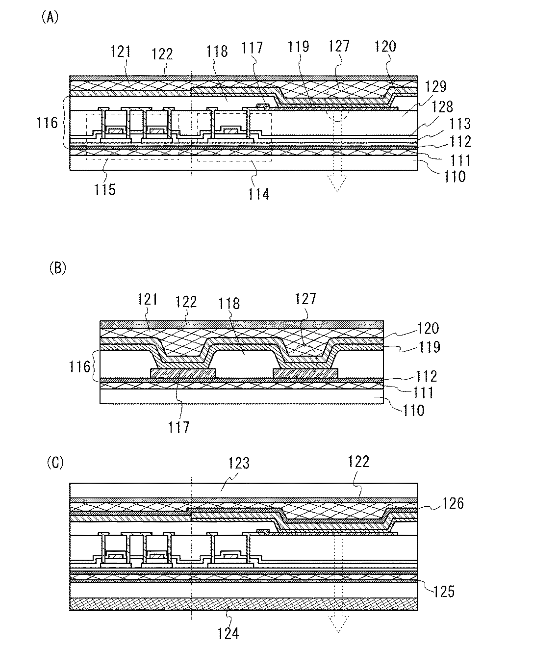
标题:
発光装置及び表示装置
授权日:
1900-01-01
公开(公告)号:
JP2018101640A
申请日:
2018-03-14
公开(公告)日:
2018-06-28
当前申请(专利权)人:
株式会社半導体エネルギー研究所
发明人:
波多野 薫 | 瀬尾 哲史 | 永田 貴章 | 岡野 達也
简单同族:
CN101728420A | CN101728420B | EP2178133A2 | EP2178133A3 | EP2178133B1 | JP2011003522A | JP2011003522A5 | JP2014239071A | JP2015207568A | JP2017037858A | JP2017045730A | JP2018037412A | JP2018101640A | JP2020080320A | JP5796118B2 | JP6049972B2 | JP6330015B2 | JP6408537B2 | JP6517301B2 | KR101691385B1 | KR101700321B1 | KR101846151B1 | KR101912584B1 | KR1020100042602A | KR1020140139994A | KR102015760B1 | KR1020170015401A | KR1020180037158A | KR1020180117572A | KR1020190102157A | TW201031245A | TW201540124A | TW201720226A | TW201836433A | TWI503042B | TWI573490B | TWI624191B | US10340319 | US20100096633A1 | US20120241799A1 | US20140124796A1 | US20150108463A1 | US20160329389A1 | US20170358639A1 | US20190229168A1 | US8188474 | US8581265 | US9117976 | US9401458 | US9793329
简单同族成员数量:
50
简单同族被引用专利总数:
191
诉讼案件数:
0
法律状态/事件:
驳回